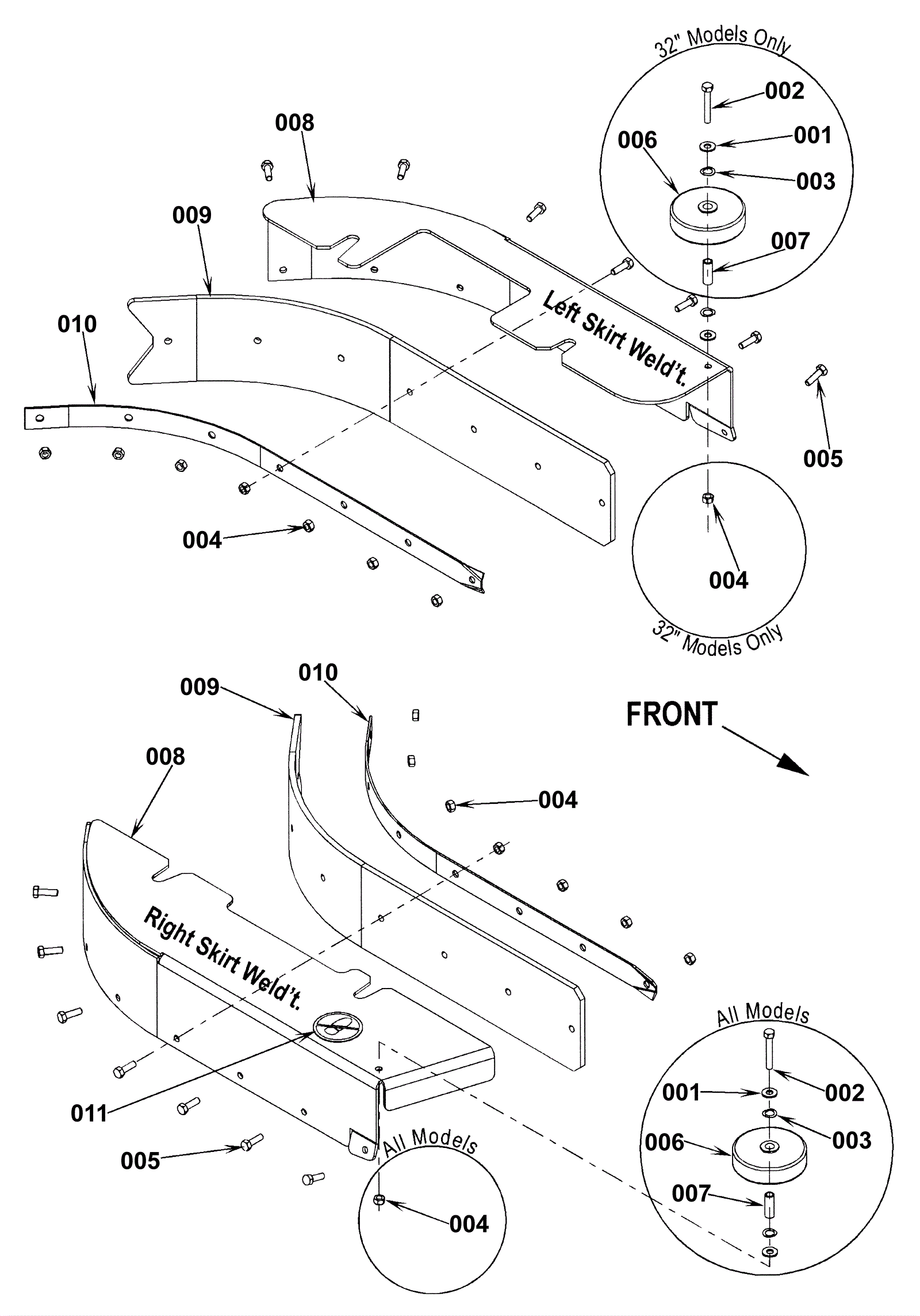
Skirt Assemblies-Disk 1
Click to enlarge