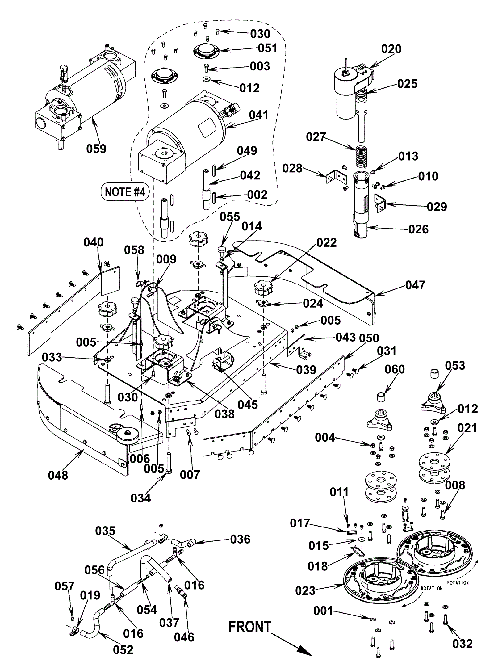
BR600S
Scrub System-Disk
Click to enlarge
#
Part
Description
Price
Req
Notes
Availability
50
172-3404
Skirt blade front
$32.56
usually ships 13-18 days