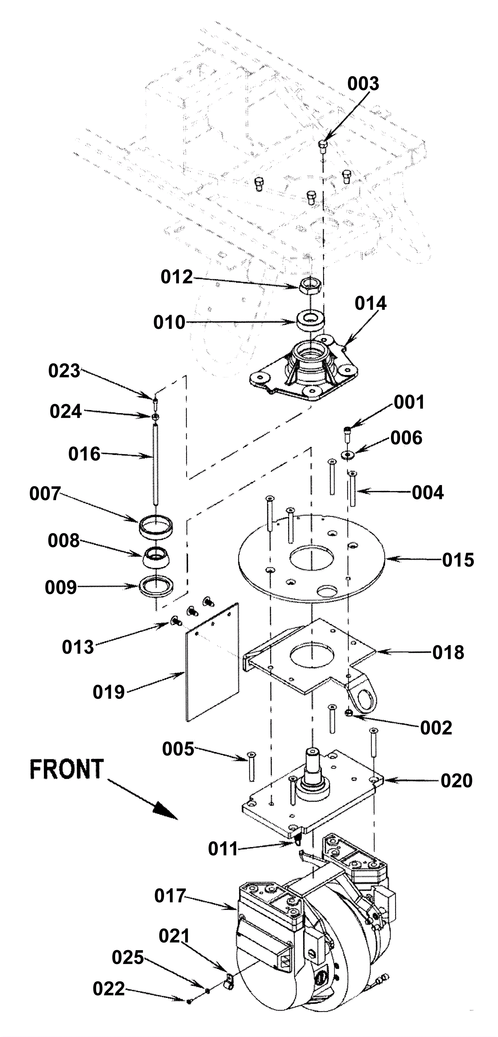
Front Wheel Assembly
Click to enlarge