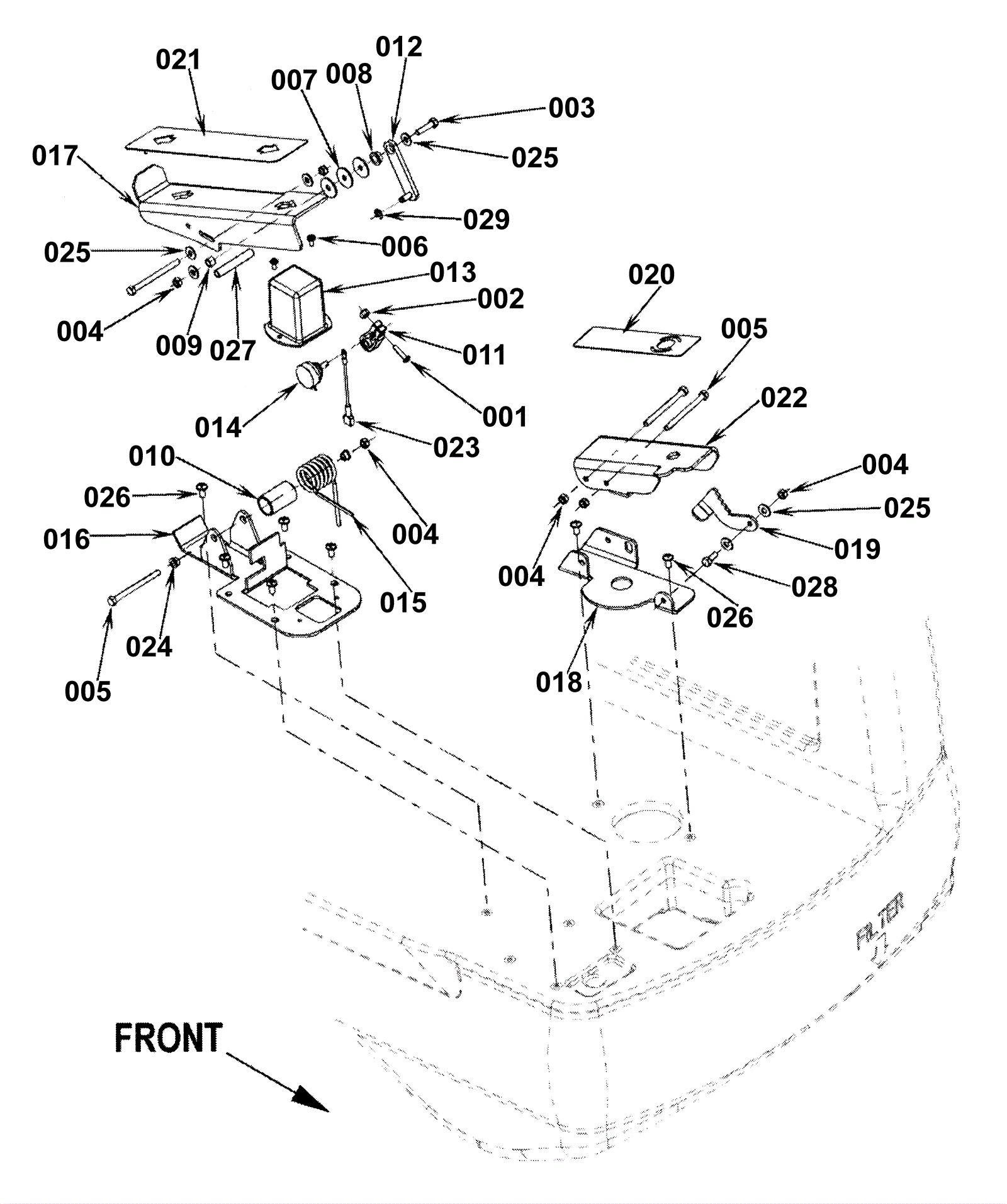
Drive and Brake Pedal Assemblies
Click to enlarge