| # | Part | Description | Price | Req | Notes | Availability |
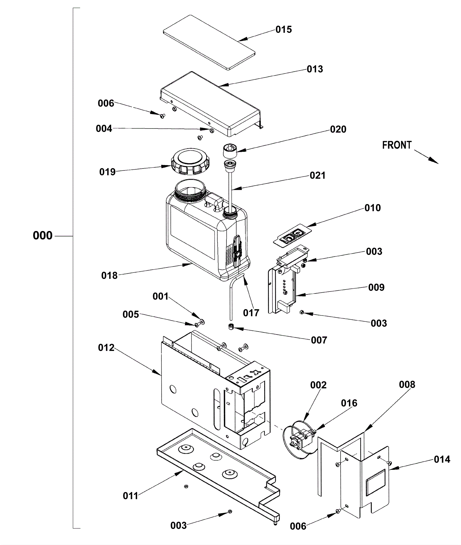
000 |
272-9954
|
Detergent injection assembly |
$3,206.27
|
1 |
(includes 1-21) |
usually ships 1-5 days |
001 |
172-0369
|
Washer 17/64 x 3/4 x 23/64 flat |
$12.89
|
1 |
|
usually ships 1-5 days |
002 |
272-7413
|
Cable tie |
$12.89
|
3 |
|
usually ships 1-5 days |
003 |
999-0442
|
Nut 10-24 nylon insert lock stainless steel |
$1.76
|
2 |
|
ships same day |
004 |
999-0152
|
Nut 1/4-20 nylon insert lock zinc plated |
$0.99
|
8 |
|
ships same day |
005 |
999-0522
|
Screw 1/4-20 x 1/2 pan head phillips stainless steel |
$1.03
|
2 |
|
ships same day |
006 |
172-4451
|
Screw 1/4-20 x 3/8 pan phillips stainless steel |
$12.89
|
3 |
|
usually ships 1-5 days |
007 |
272-2174
|
Snub bushing |
$12.89
|
5 |
|
usually ships 1-5 days |
008 |
172-0032
|
Gasket 1/16 x 1/2 x 120 (OBSOLETE) |
$11.99
|
1 |
|
usually ships 13-18 days |
009 |
272-9955
|
Control assembly |
$866.48
|
1 |
|
usually ships 1-5 days |
010 |
272-5397
|
Control decal |
$114.83
|
1 |
|
usually ships 1-5 days |
011 |
272-5398
|
Detergent tray |
$20.91
|
1 |
|
usually ships 1-5 days |
012 |
272-5399
|
Detergent box weldment |
$489.15
|
1 |
|
usually ships 1-5 days |
013 |
272-5400
|
Detergent cover |
$32.56
|
1 |
|
usually ships 13-18 days |
014 |
272-6045
|
Pump cover |
$38.79
|
1 |
|
usually ships 1-5 days |
015 |
272-6046
|
Detergent pad |
$56.65
|
1 |
|
usually ships 1-5 days |
016 |
272-5403
|
Detergent pump |
$281.00
|
1 |
|
usually ships 13-18 days |
017 |
272-5404
|
Chemical resistant hose |
$12.89
|
1 |
|
usually ships 13-18 days |
018 |
272-2179
|
Chemical bottle assembly |
$100.16
|
1 |
|
usually ships 13-18 days |
019 |
272-2180
|
Solution fill cap |
$8.03
|
1 |
|
ships same day |
020 |
272-2182
|
Dry break cap |
$35.75
|
1 |
|
ships same day |
021 |
272-2184
|
Dry break insert |
$14.41
|
1 |
|
ships same day |
N/S |
272-9375
|
Chemical bottle assembly |
$216.63
|
1 |
(includes 18-21) |
usually ships 13-18 days |
N/S |
272-2346
|
Indicator assembly |
$16.20
|
1 |
|
ships same day |