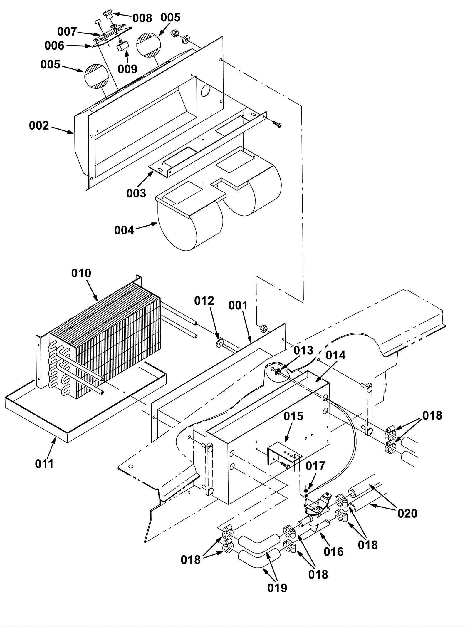
Heater/Pressurizer Breakdown, 74091
Click to enlarge