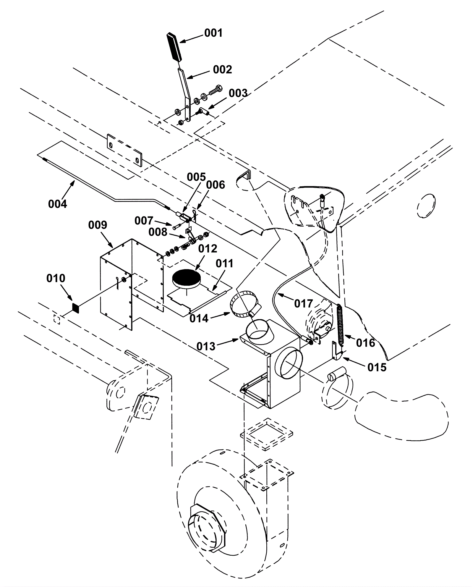
Blower Vac Fan Group 2
Click to enlarge