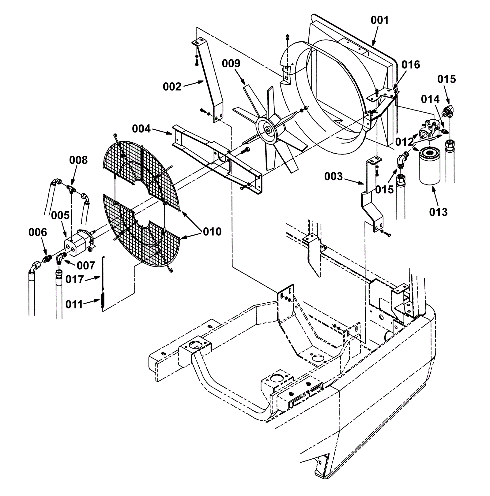
Cooling Fan and Housing Group 1
Click to enlarge