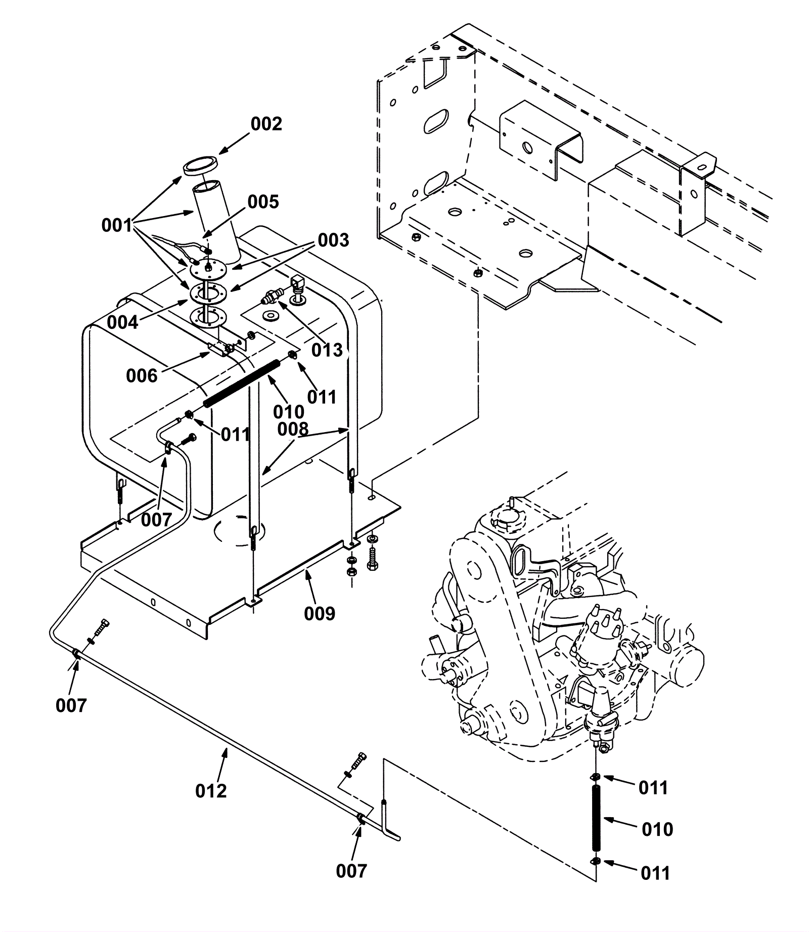
Fuel Tank Group, Gas 1
Click to enlarge