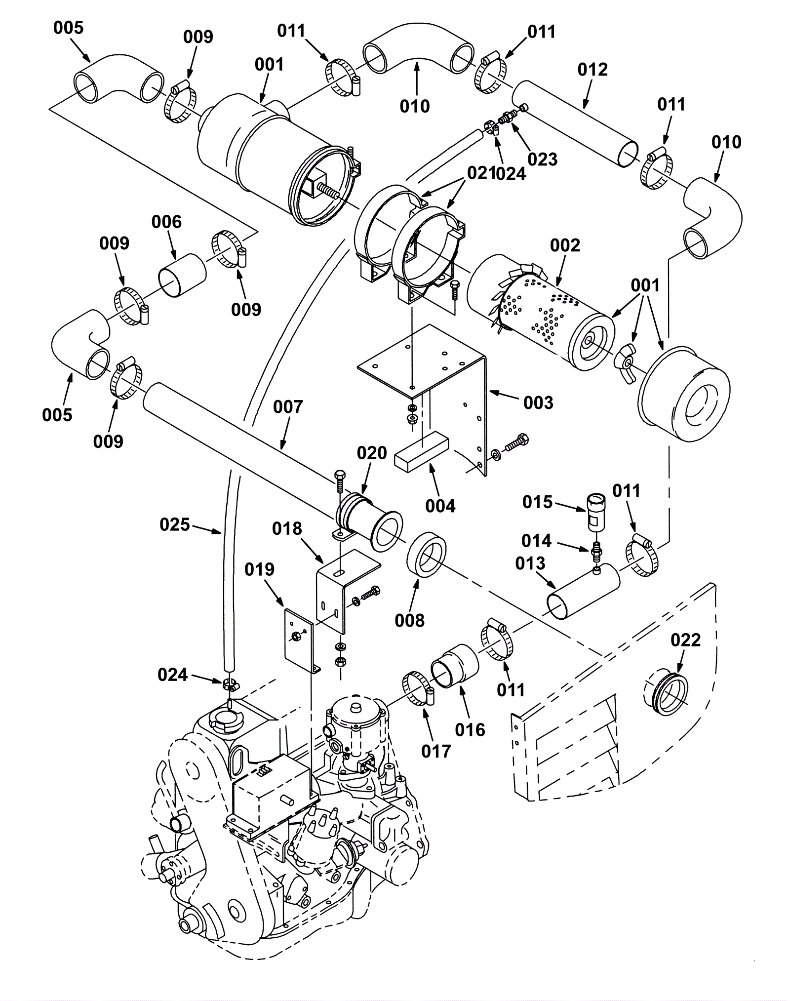
Air Cleaner Group, LPG 1
Click to enlarge