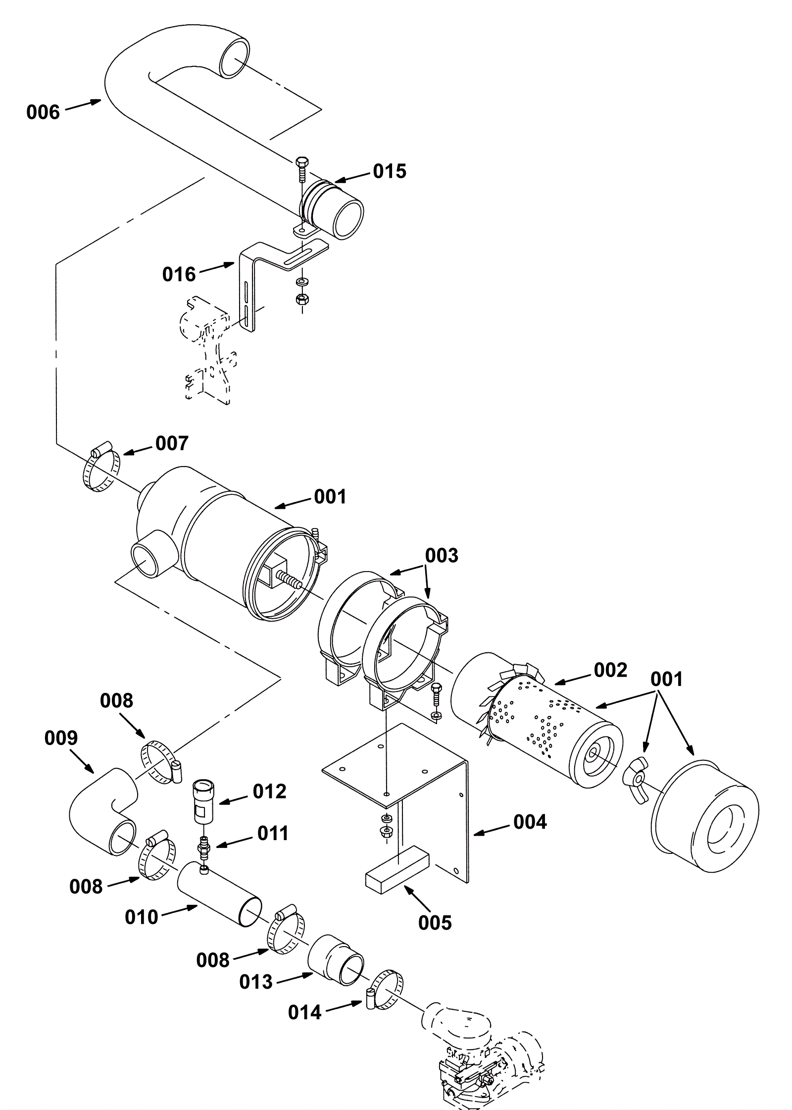
Air Cleaner Group, Gasoline 3
Click to enlarge