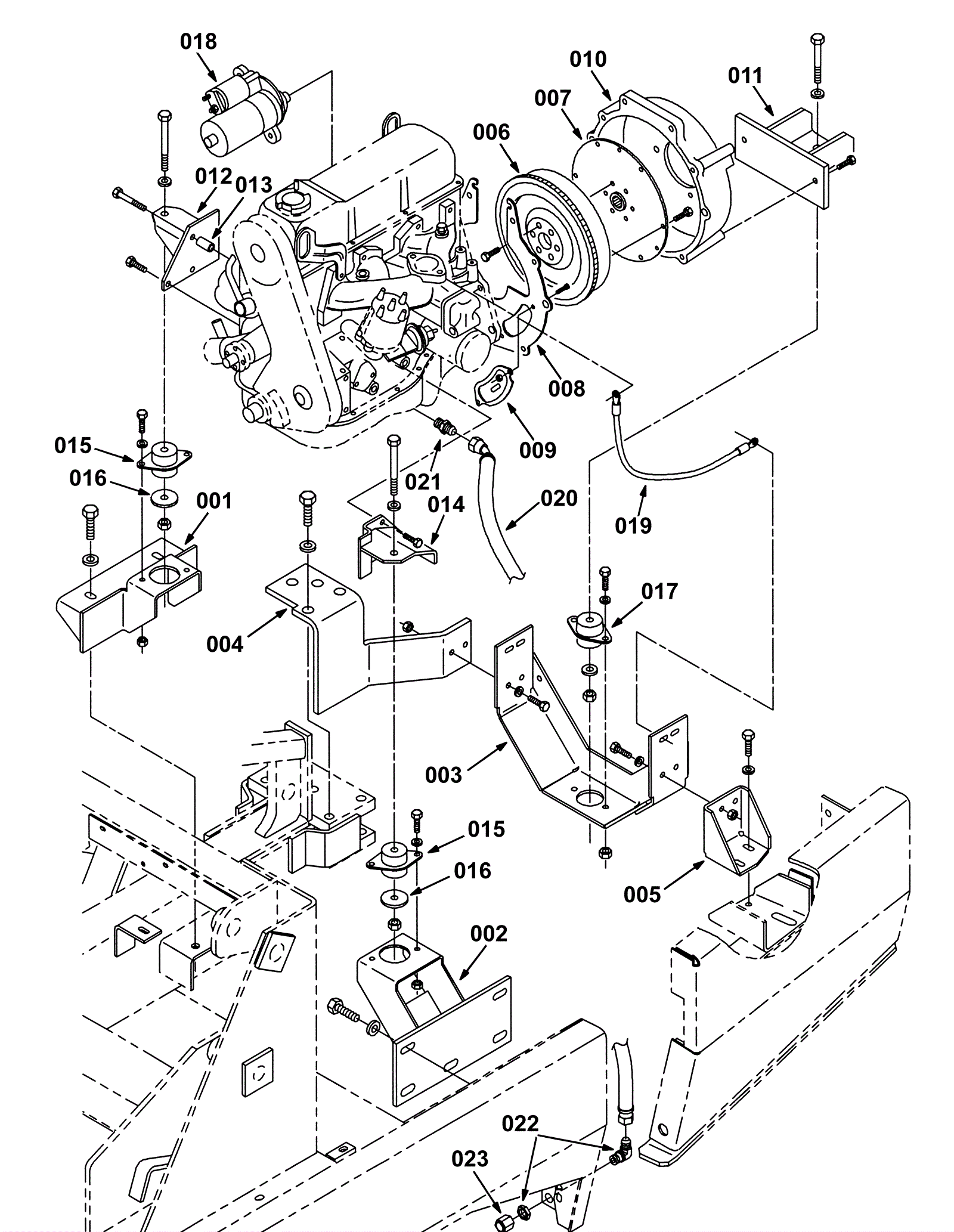
Engine Mount Group 2
Click to enlarge