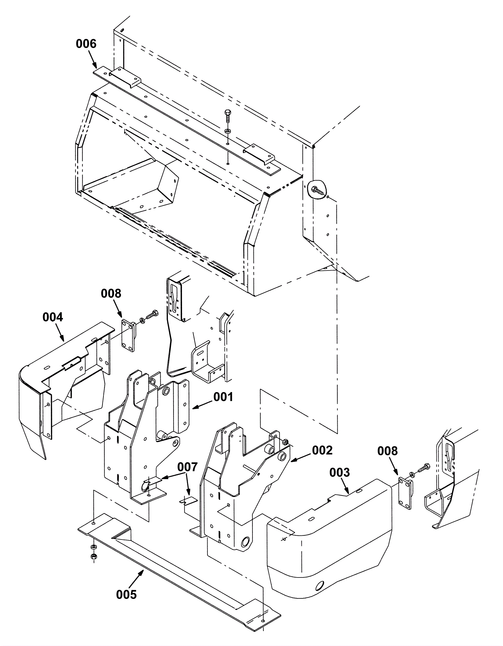
Hopper Bumper Group 2
Click to enlarge