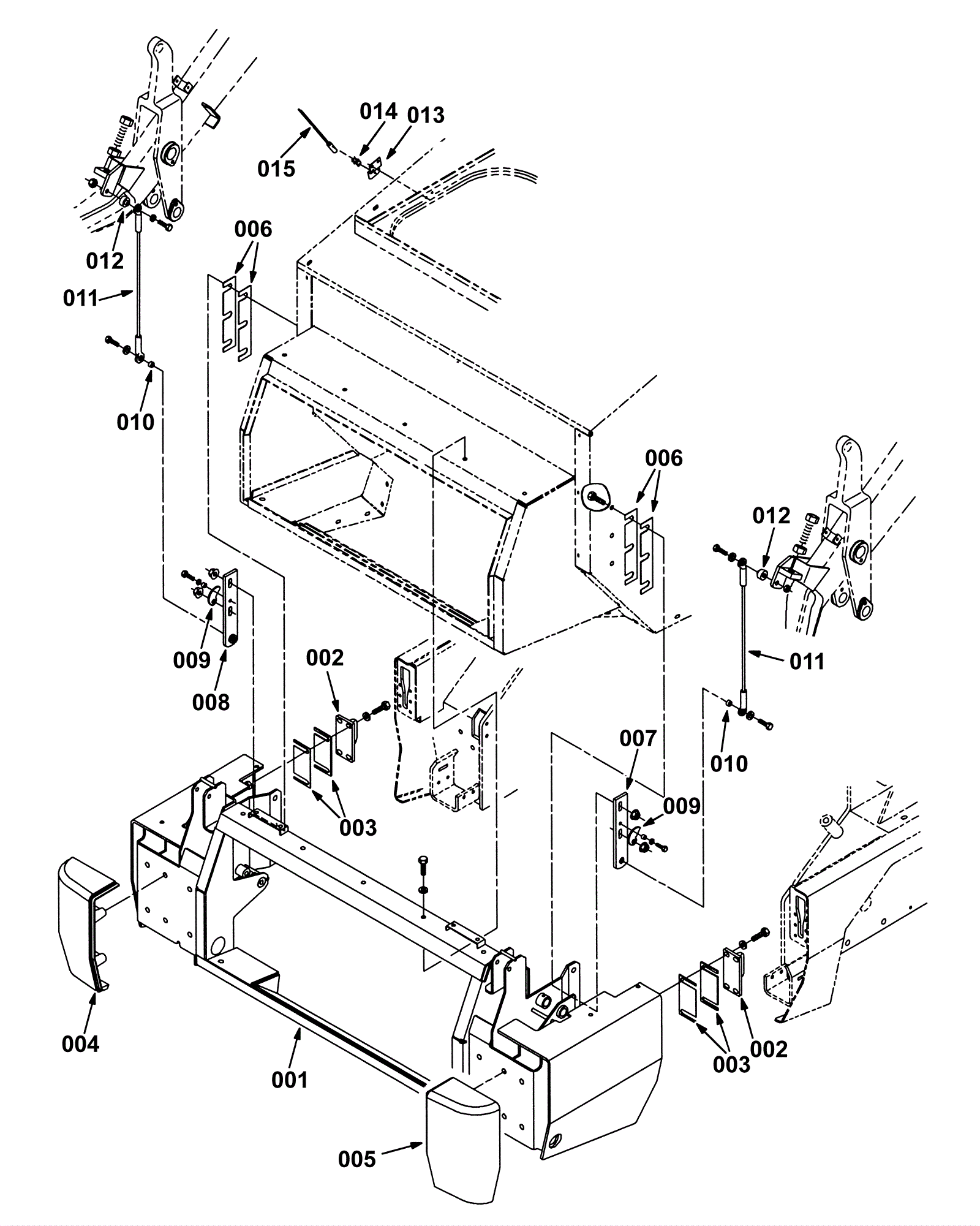
Hopper Bumper Group 1
Click to enlarge