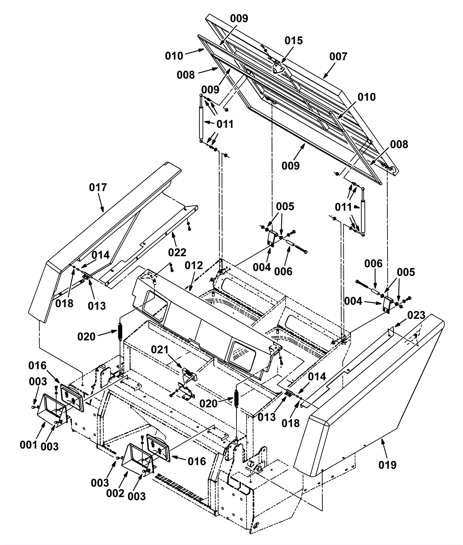
Hopper Cover Group 1