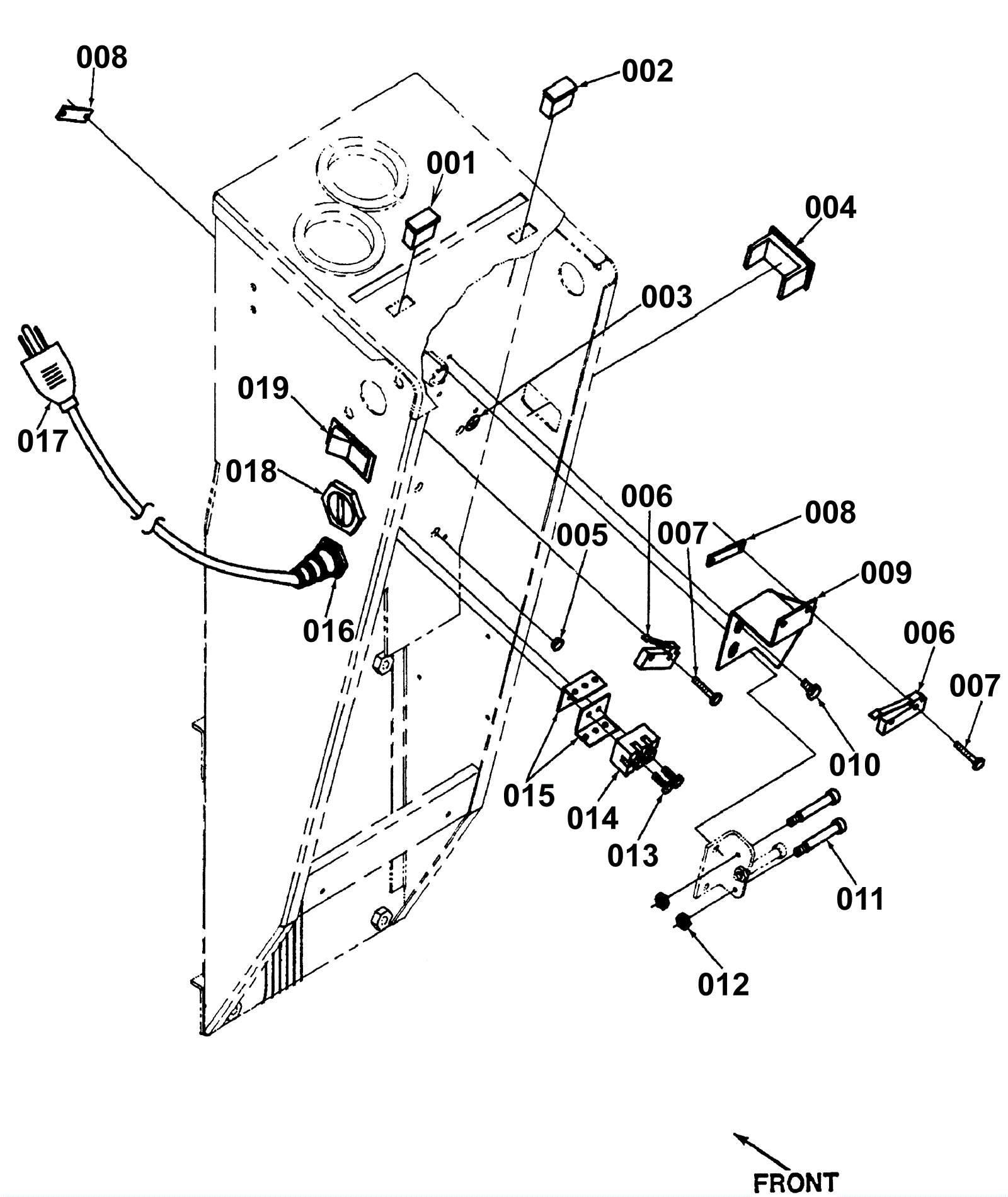
Handle Electrical Assembly
Click to enlarge