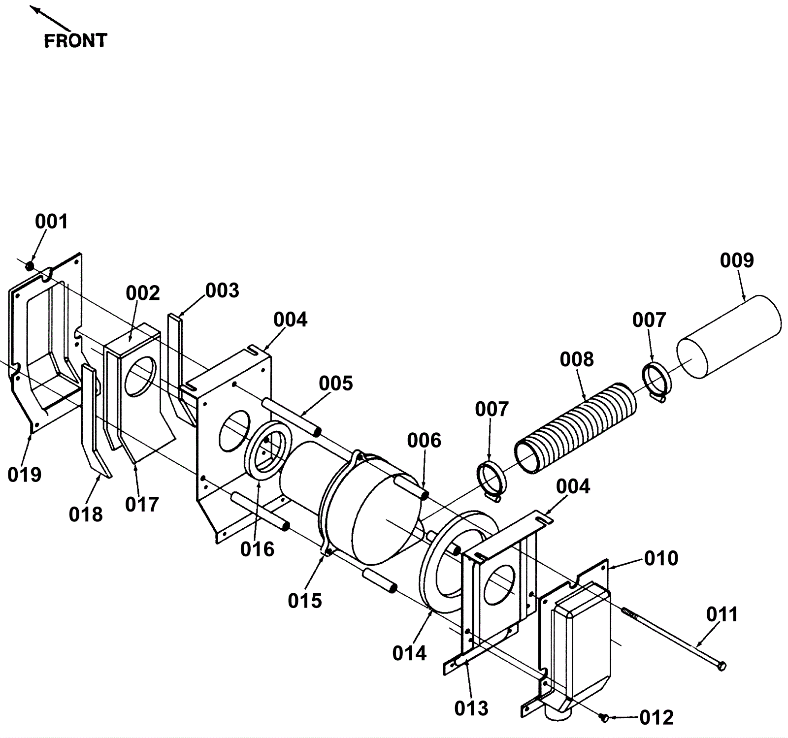
Vacuum Motor Assembly SN 1087006
Click to enlarge