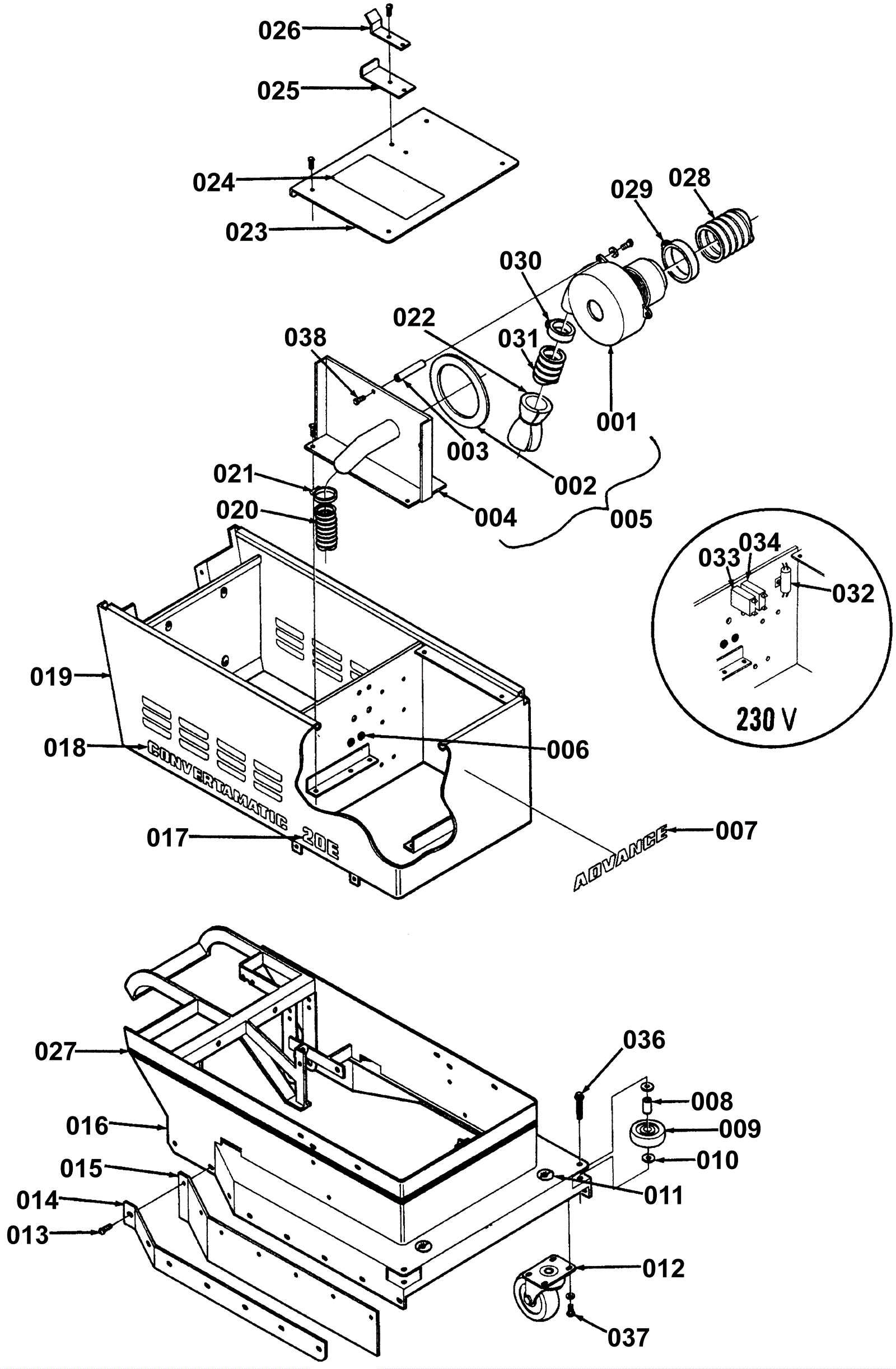
230V and 115V Housing Assembly
Click to enlarge