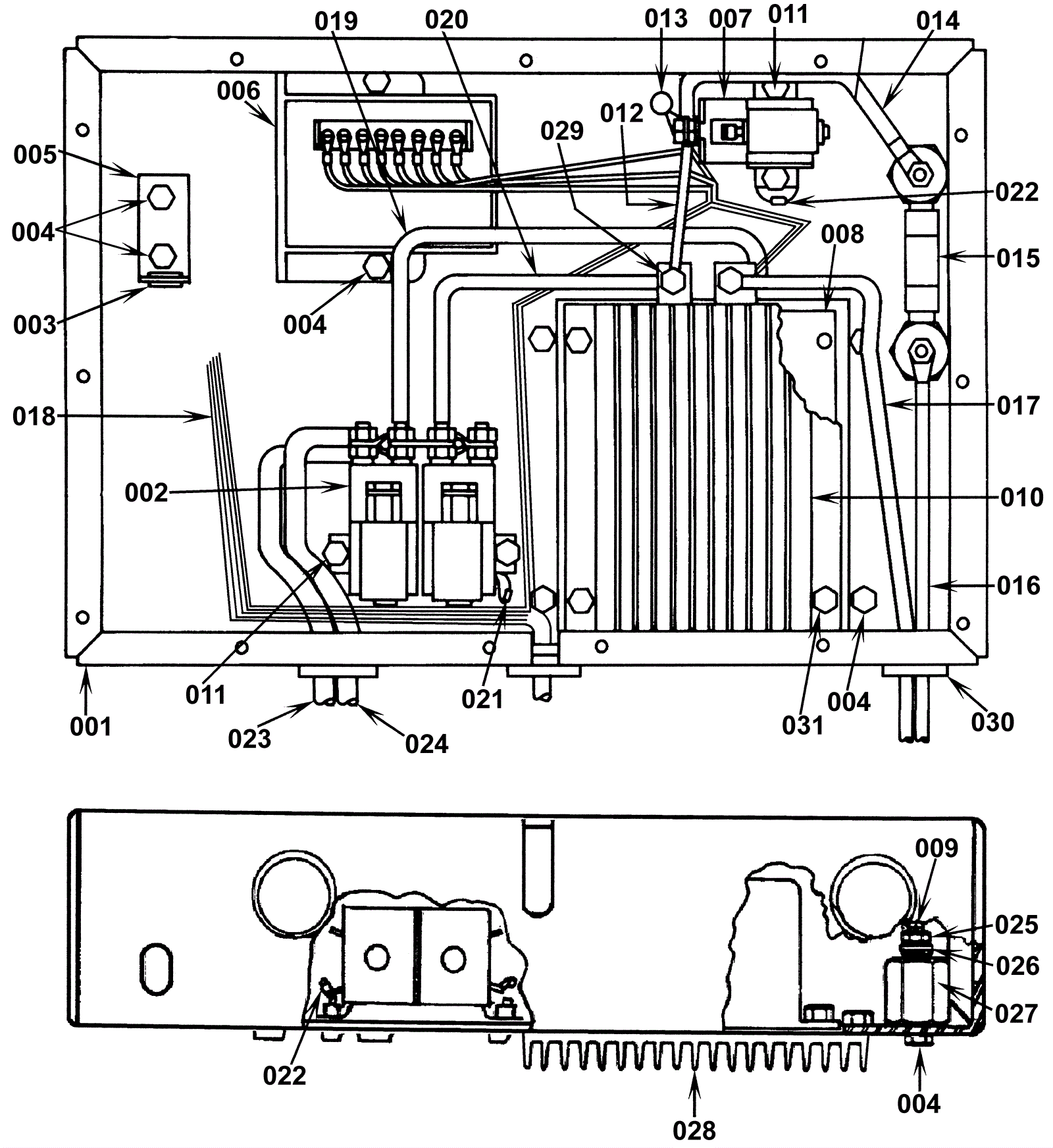
Right Electrical Panel SN 1134900
Click to enlarge