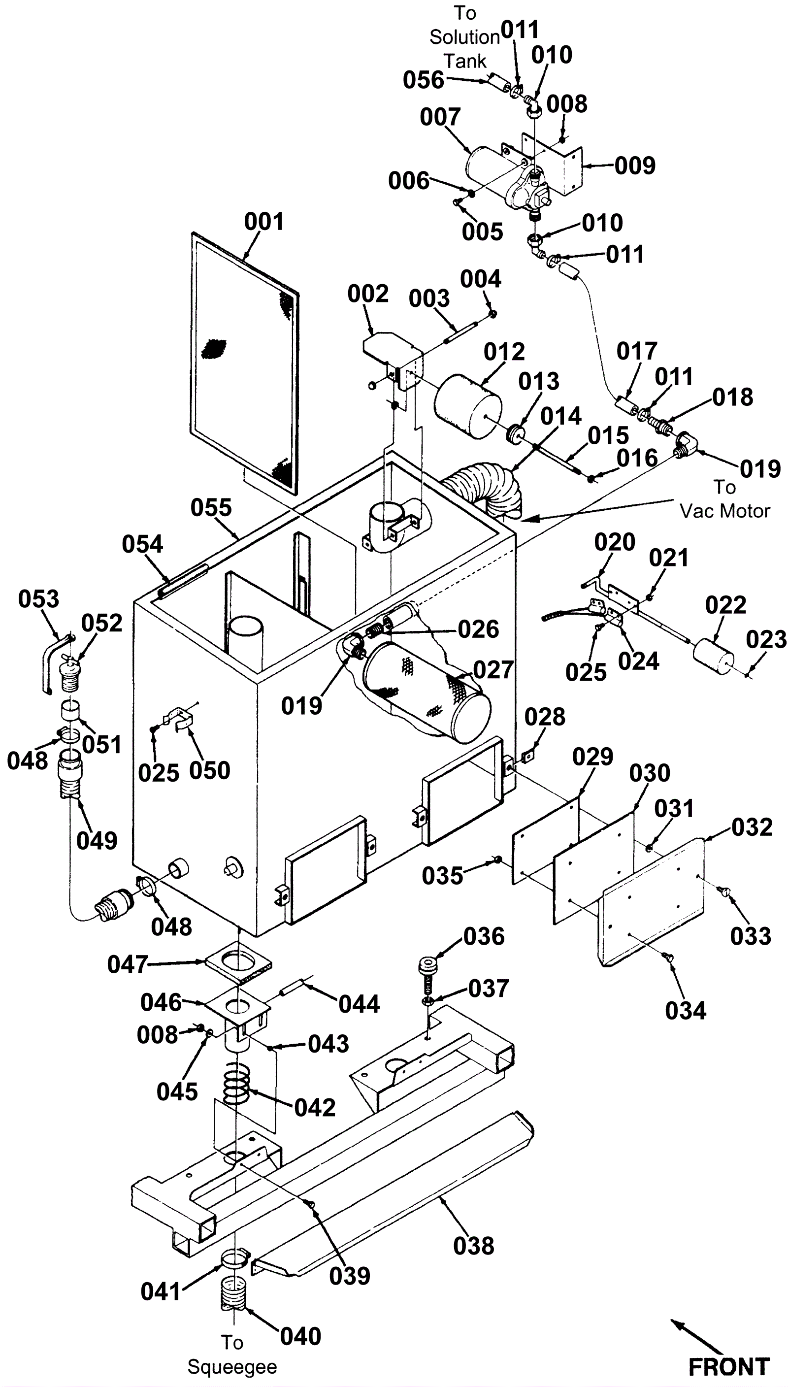
Hydromax Recovery Assembly
Click to enlarge