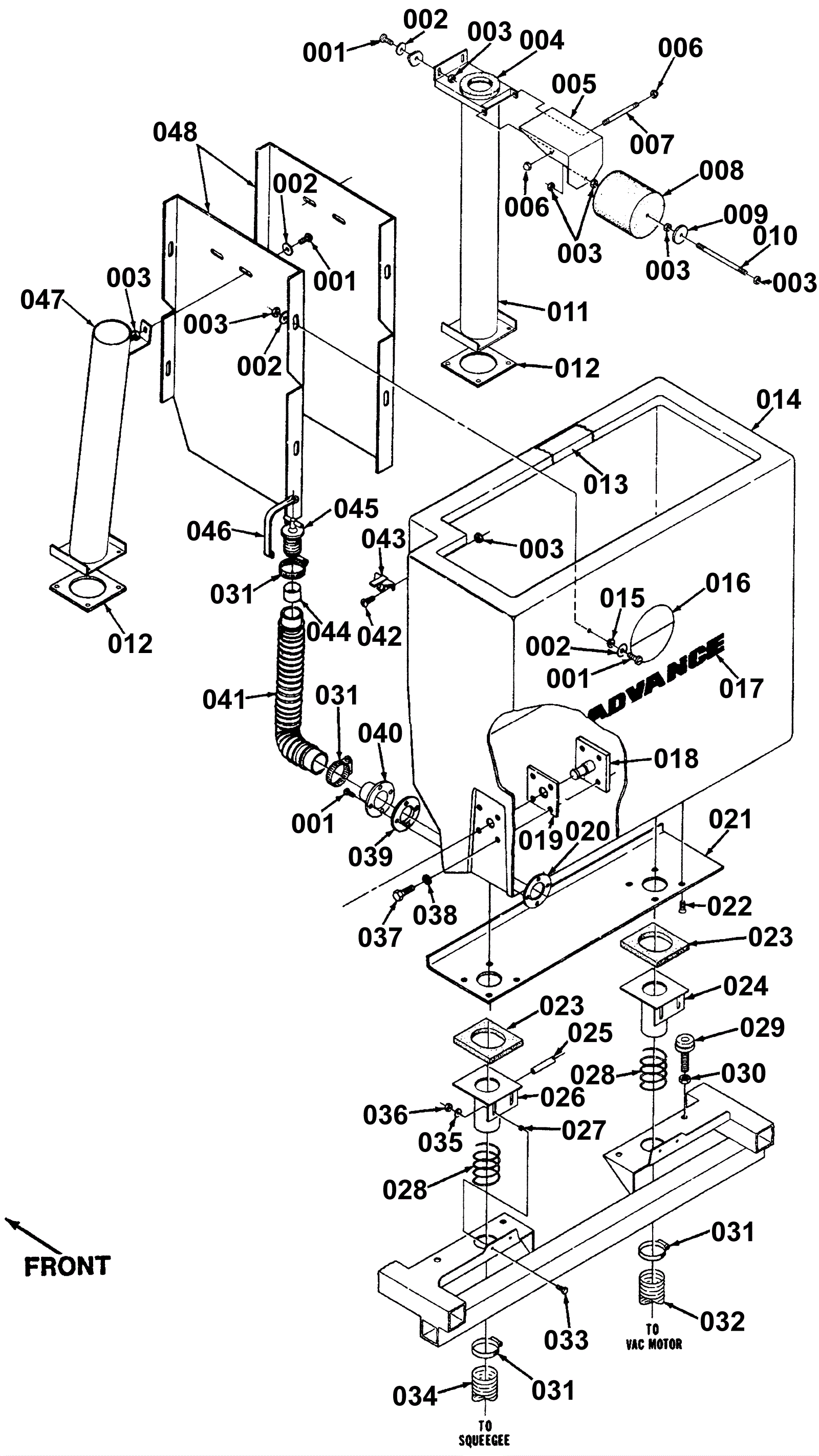
Standard Recovery Assembly
Click to enlarge