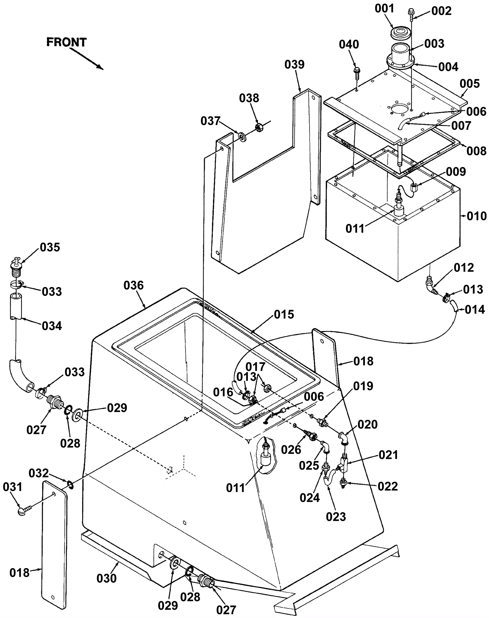
Hydromax Solution Assembly
Click to enlarge