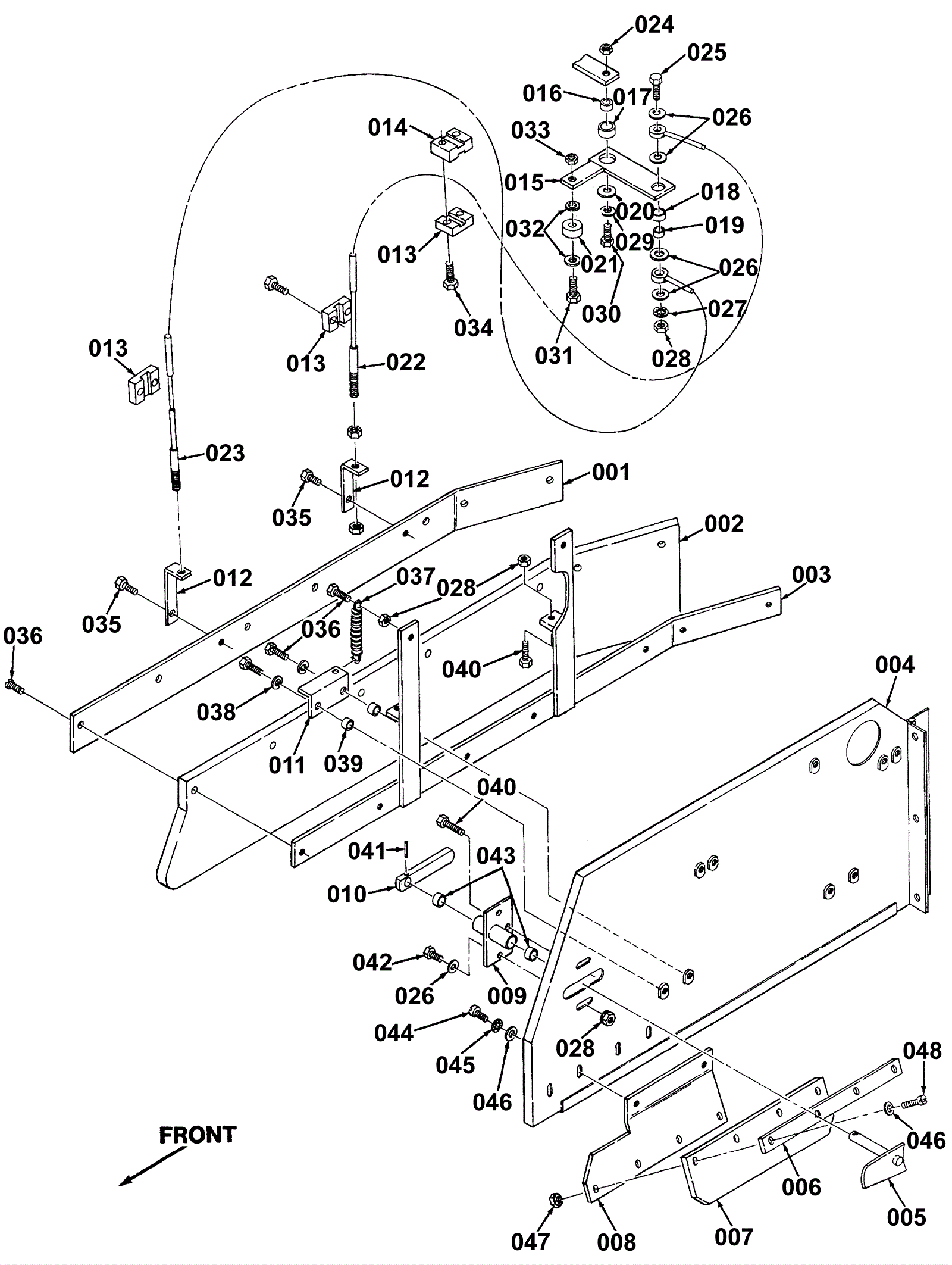
Right Skirt and Door Assembly
Click to enlarge