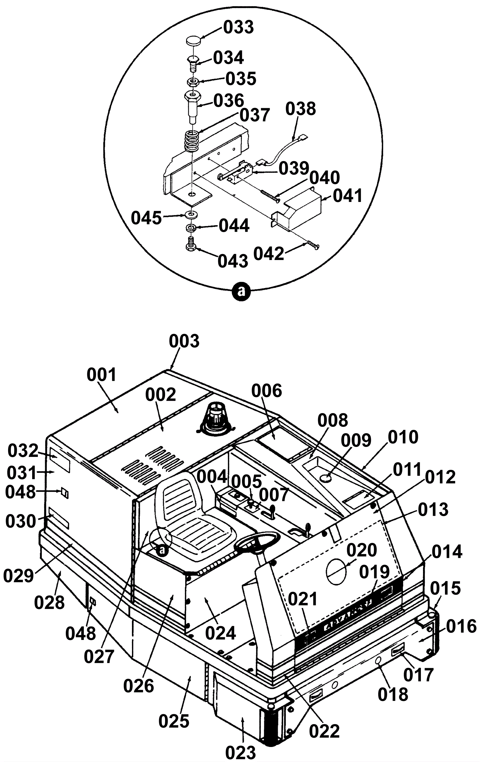
Outer Body Assembly 1
Click to enlarge