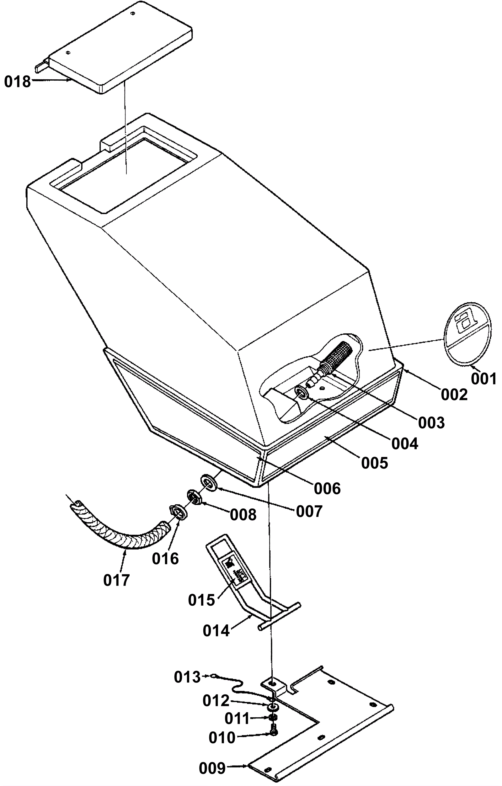
Solution Assembly
Click to enlarge