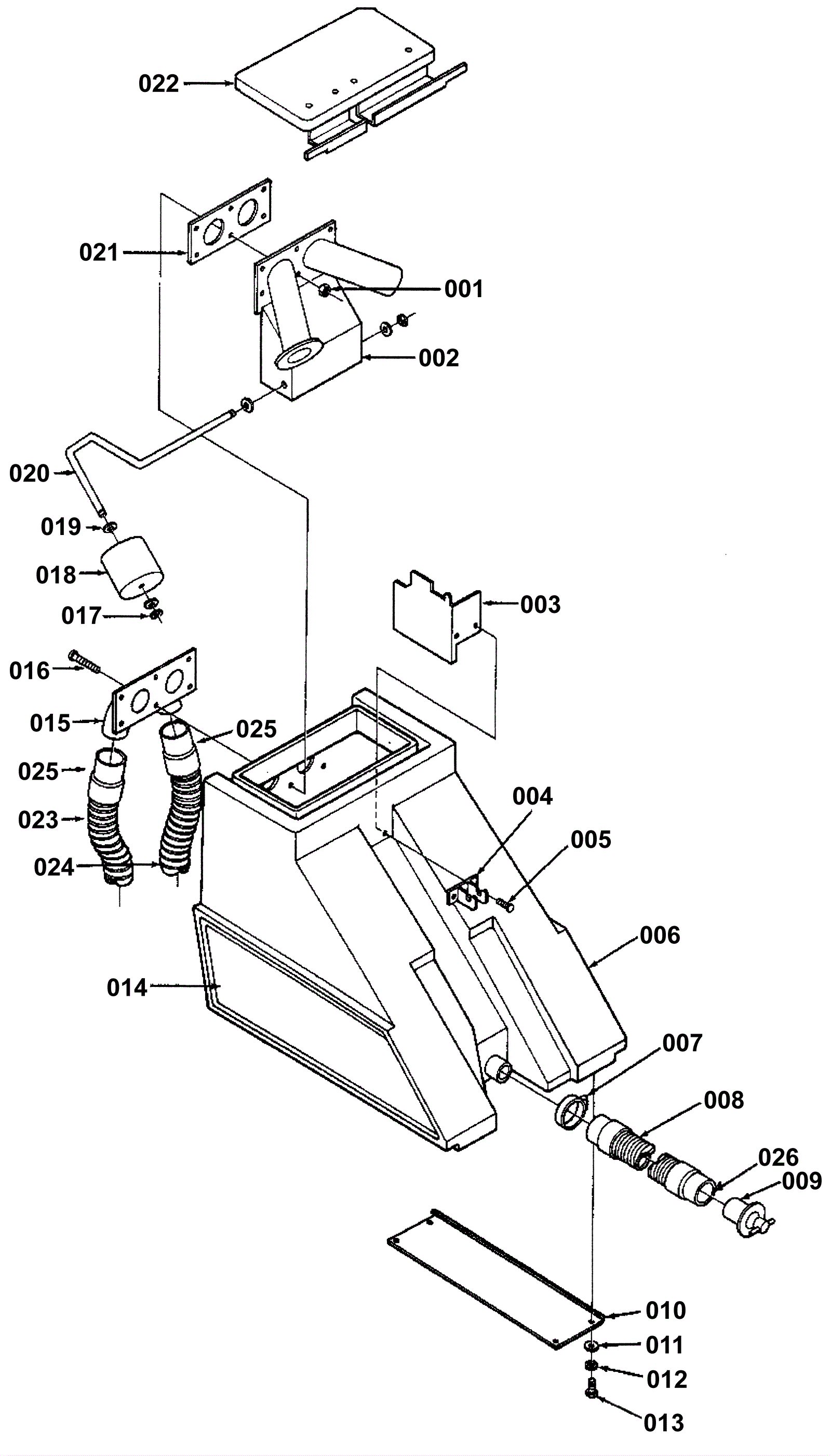
Recovery Assembly
Click to enlarge