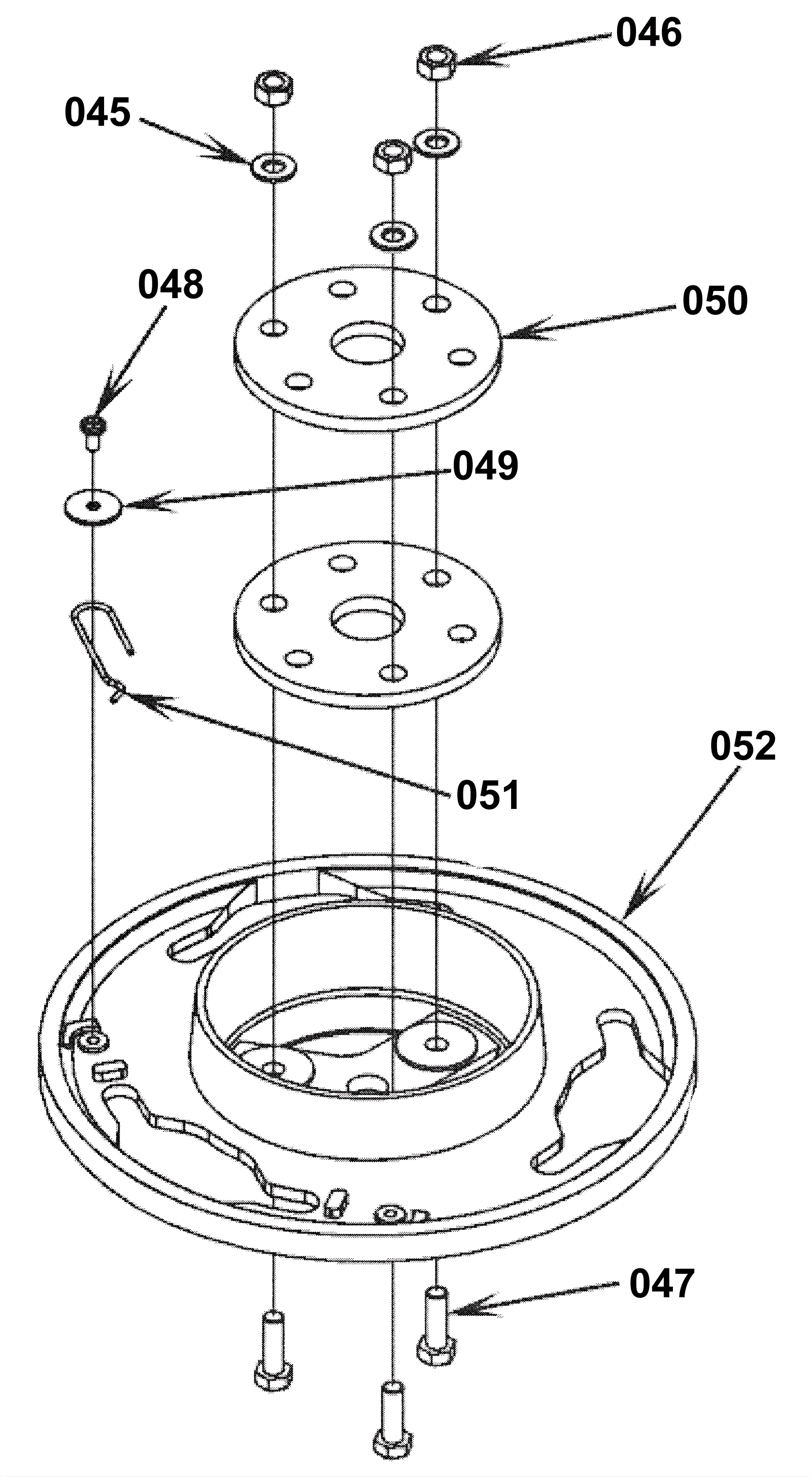
Scrub Assembly 2
Click to enlarge