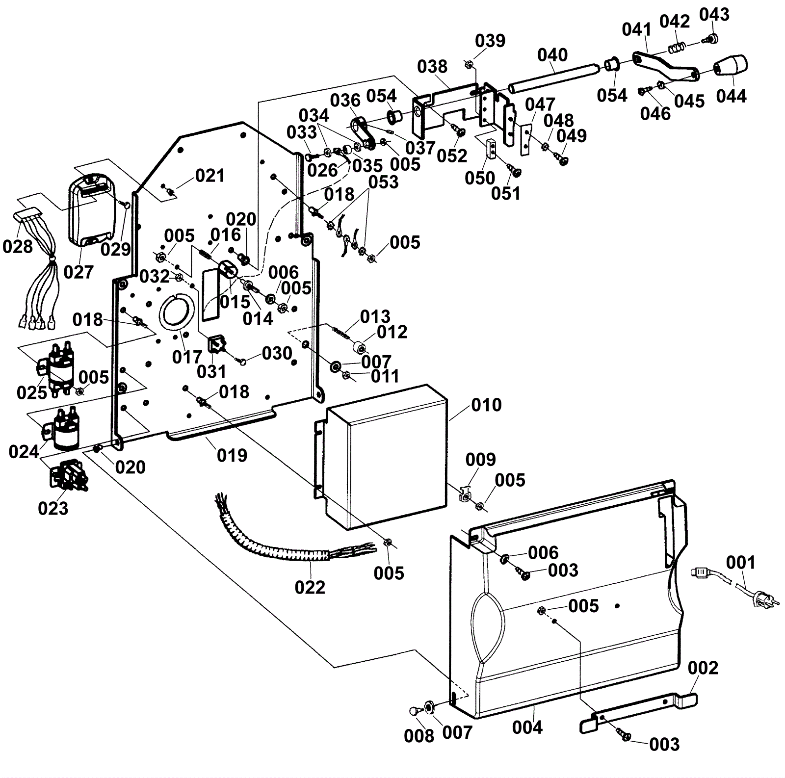
Electrical Panel Assembly 2
Click to enlarge