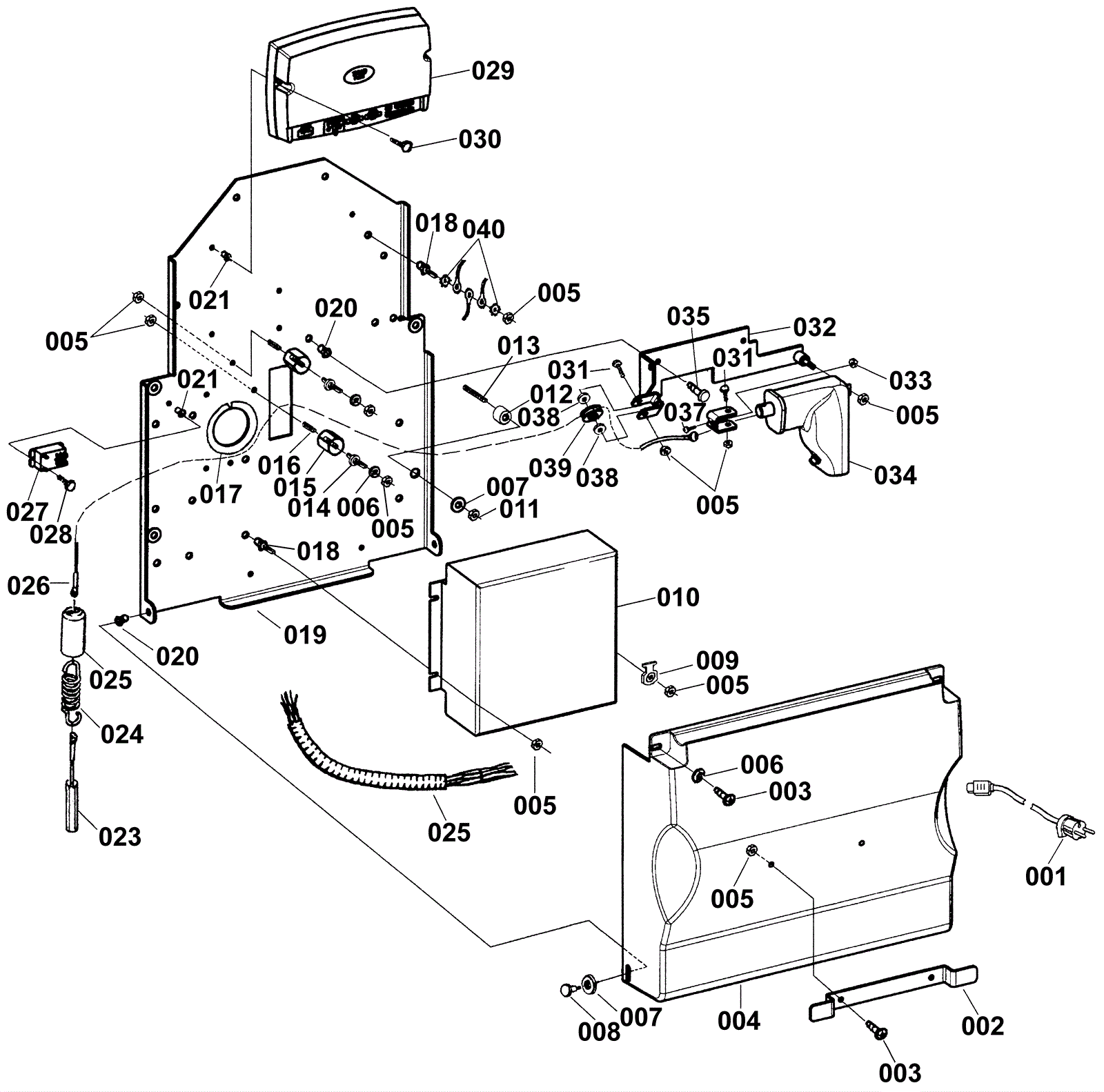
Electrical Panel Assembly 1
Click to enlarge