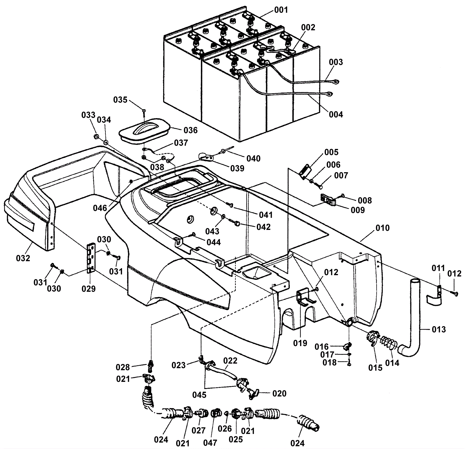
Solution Tank Assembly
Click to enlarge