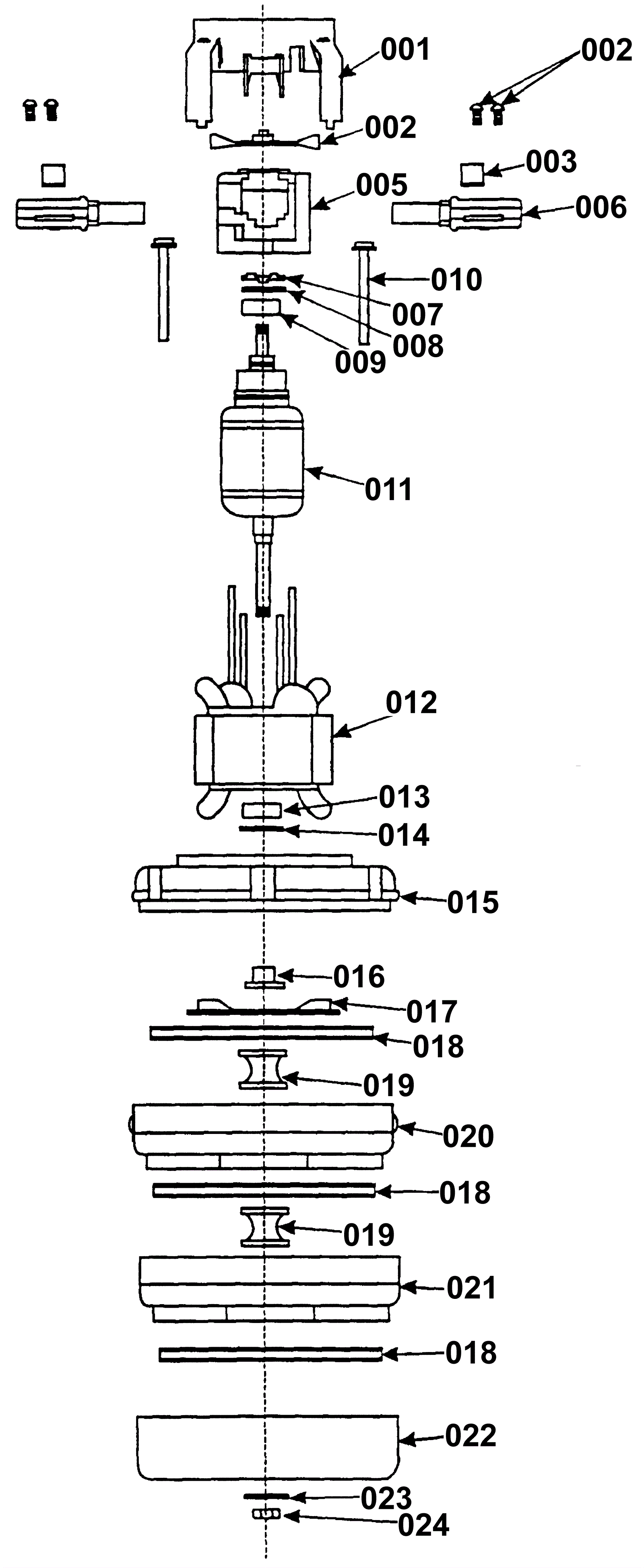
Vacuum Motor Service Assembly
Click to enlarge