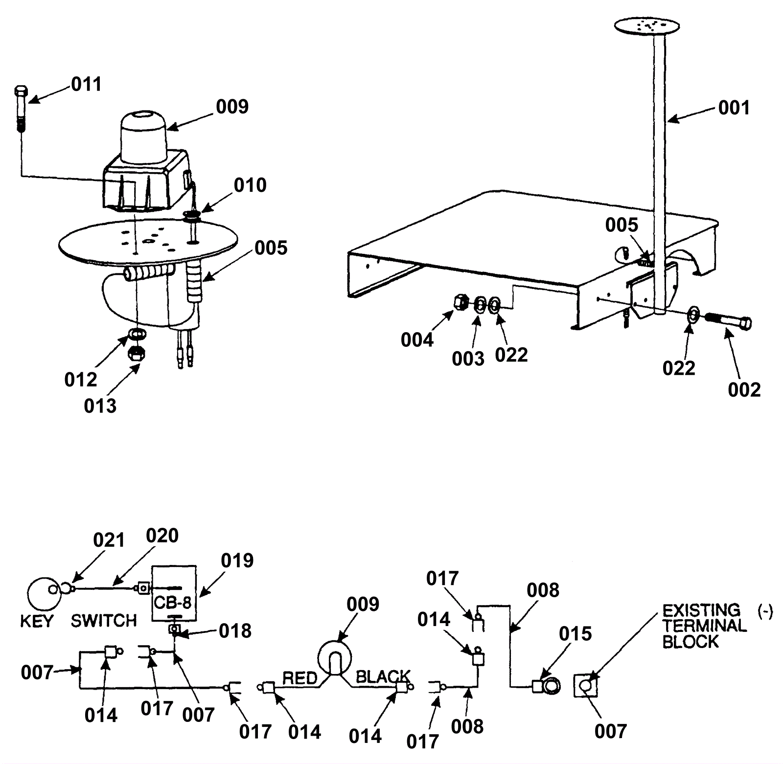
Strobe Light Assembly
Click to enlarge