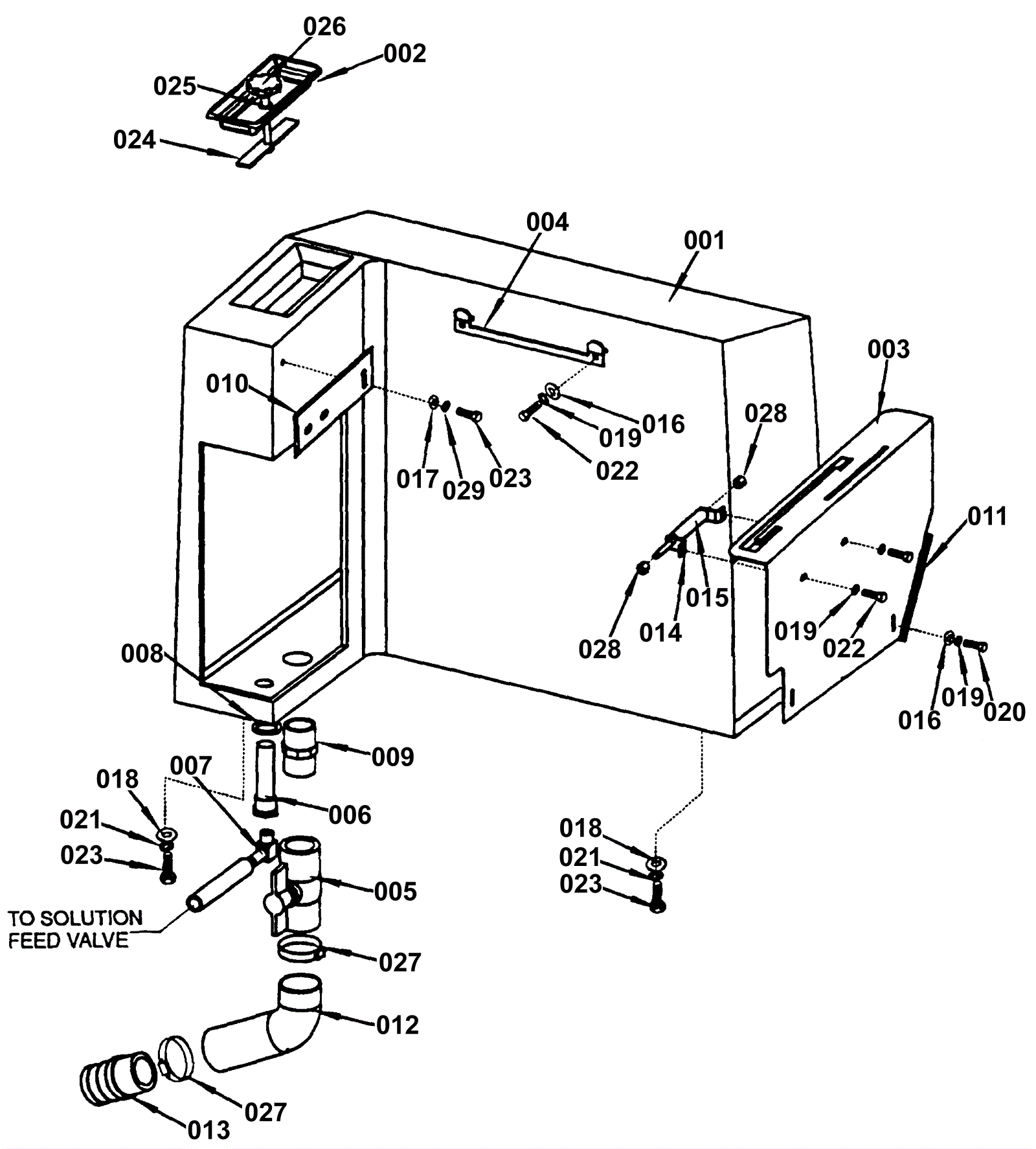
Solution Tanks
Click to enlarge