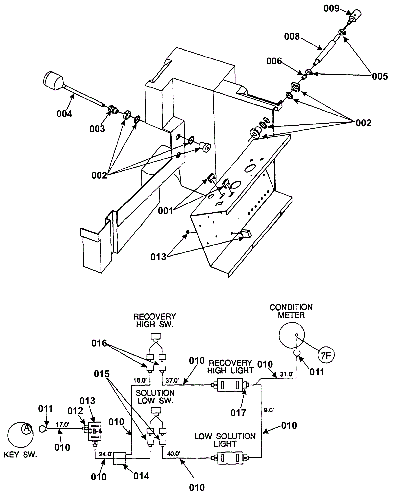
Solution and Recovery Light Assembly
Click to enlarge