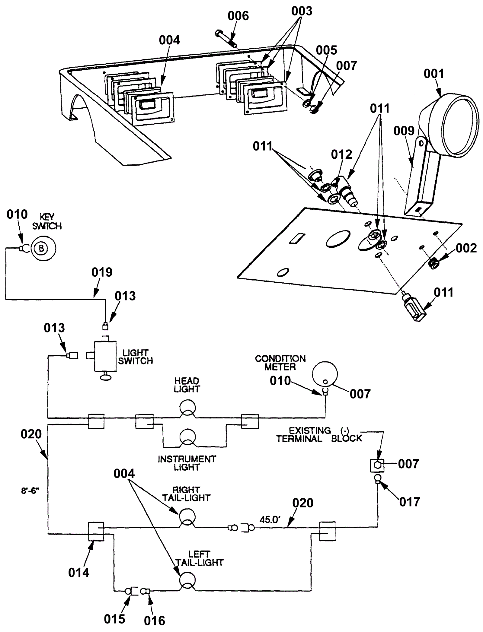
Head and Tail Light Assembly
Click to enlarge