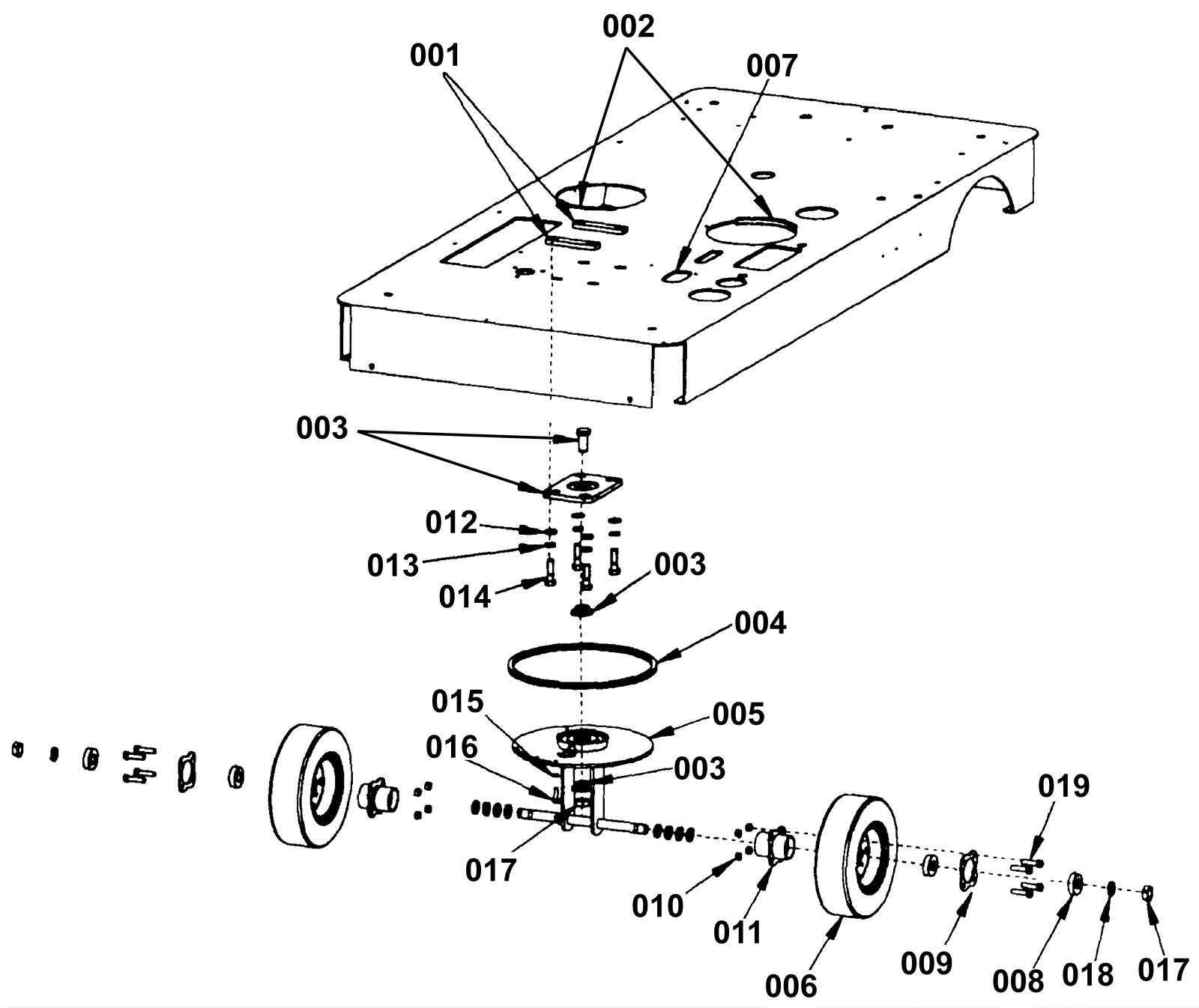
Front Wheel
Click to enlarge