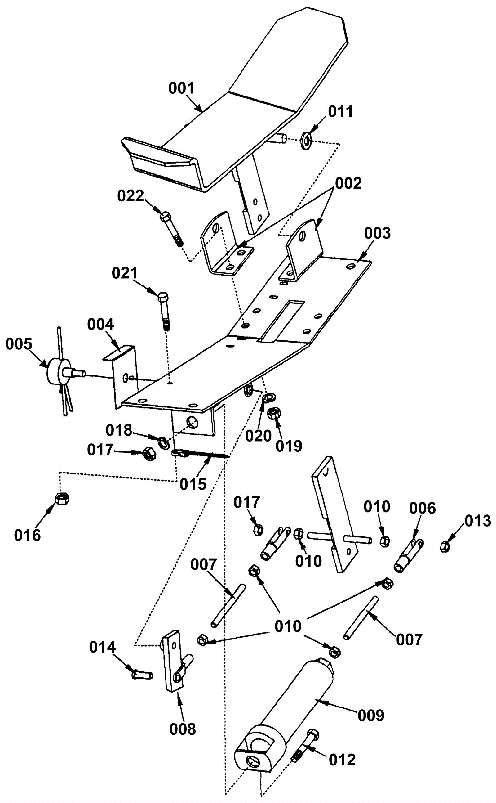
Foot Pedal
Click to enlarge