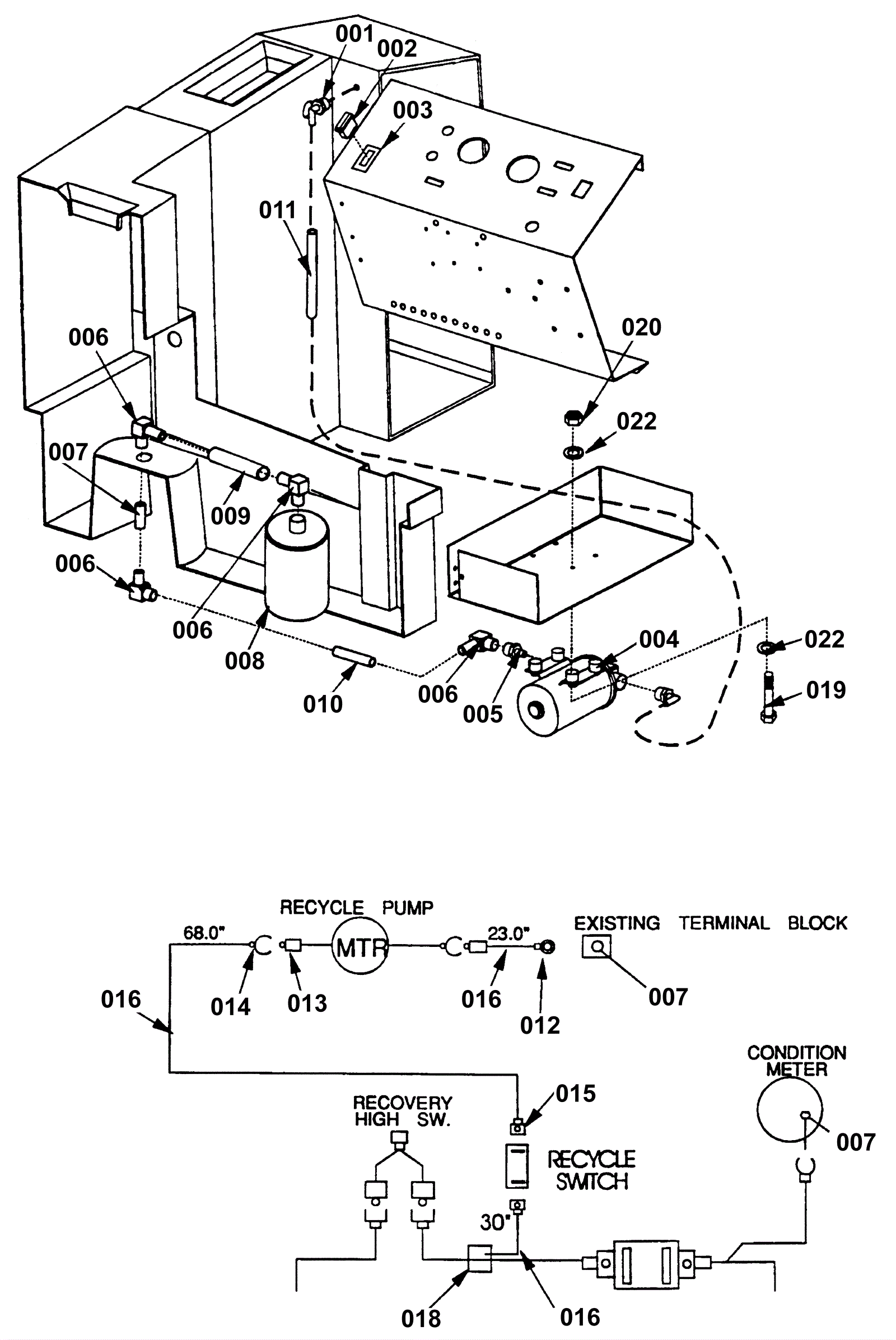
ESP Recovery Assembly
Click to enlarge