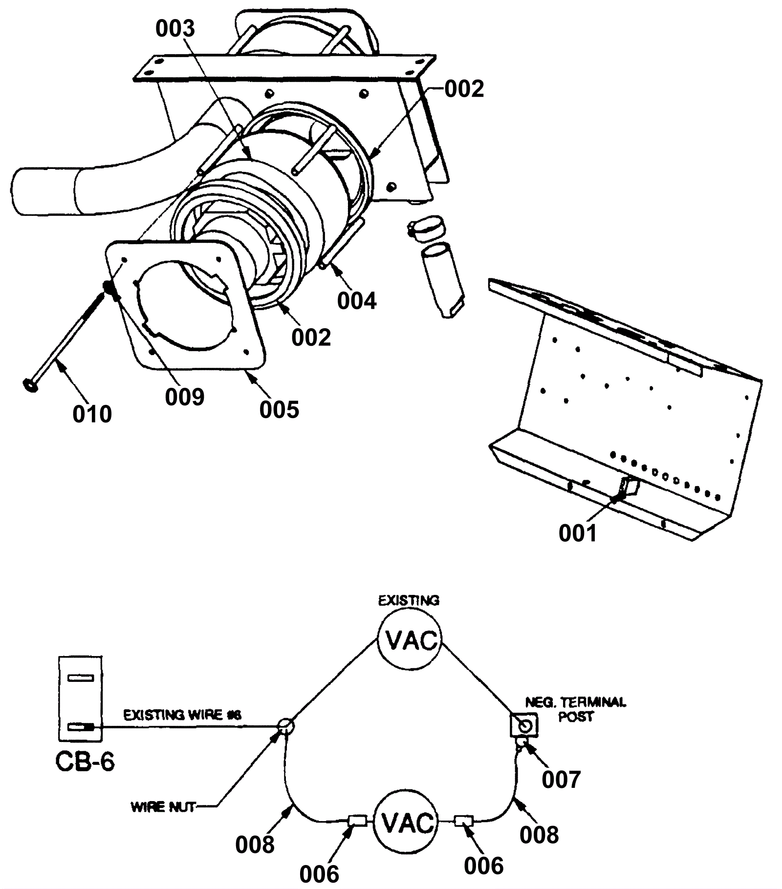
Dual Vac Assembly
Click to enlarge