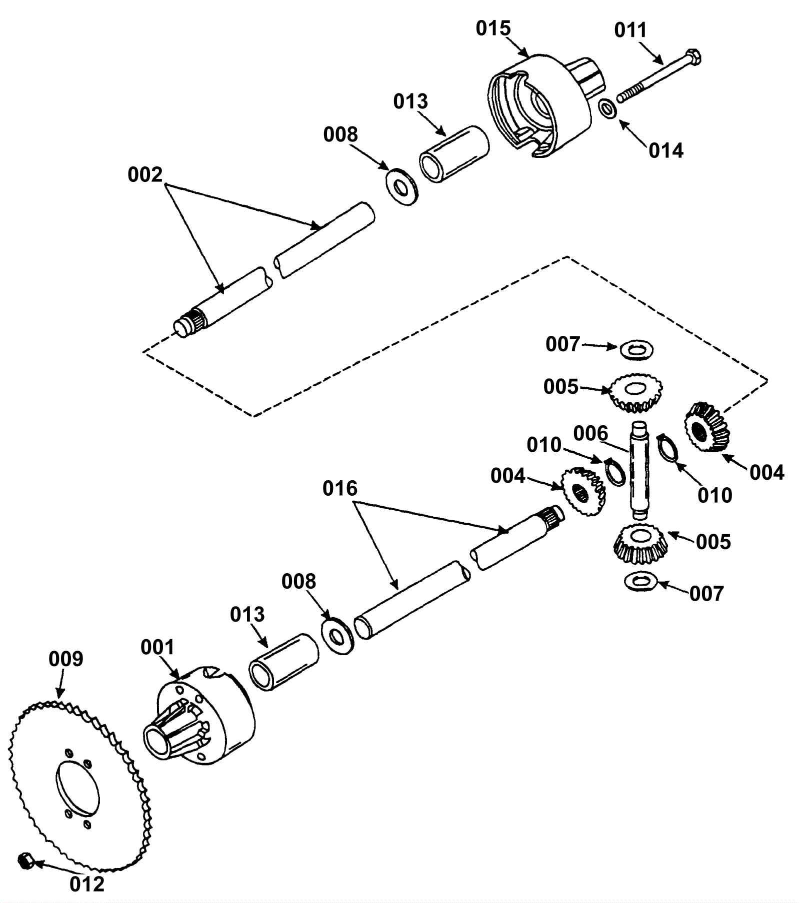
Differential Service Assembly
Click to enlarge