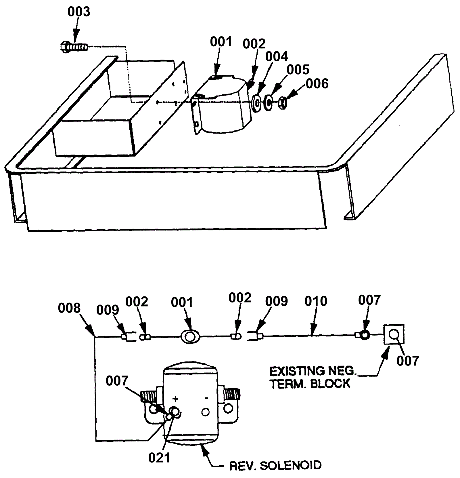
Back Up Alarm
Click to enlarge