| # | Part | Description | Price | Req | Notes | Availability |
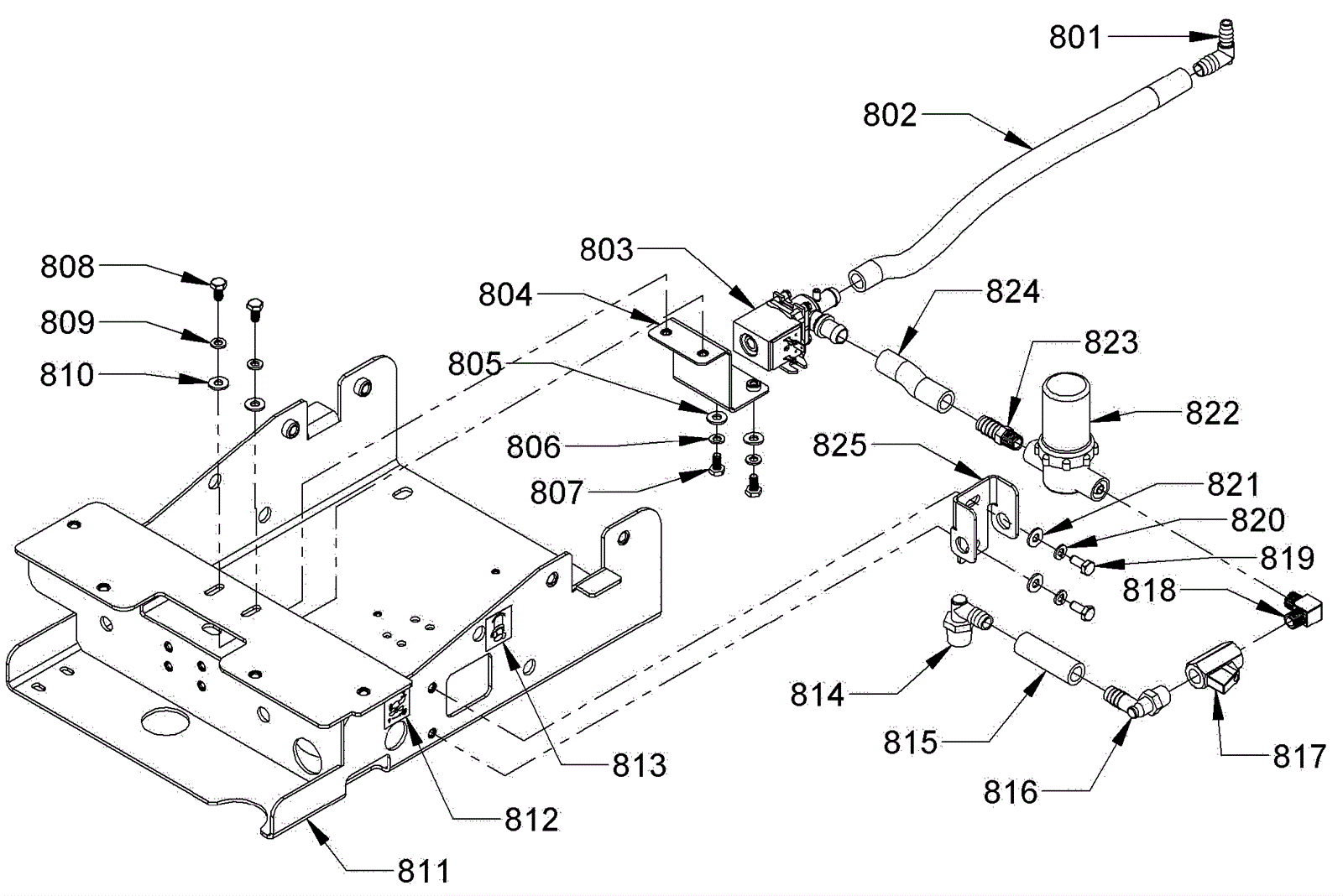
801 |
164-9918
|
Elbow fitting |
$3.54
|
1 |
|
usually ships 19-25 days |
802 |
991-1405
|
Vinyl tubing 1/2 x 3/4 (sold by the inch) |
$0.44
|
16 inch |
|
usually ships 12-16 days |
803 |
164-8176
|
Solenoid valve |
$226.15
|
1 |
|
usually ships 19-25 days |
804 |
164-9898
|
Solution solenoid mounting bracket |
$28.28
|
1 |
|
usually ships 19-25 days |
805 |
999-0335
|
Washer 1/4 x 5/8 SAE flat stainless steel |
$0.99
|
2 |
|
ships same day |
806 |
999-0060
|
Washer 1/4 split lock plain finish |
$0.99
|
2 |
|
ships same day |
807 |
999-0018
|
Bolt 1/4-20 x 1/2 hex cap grade 5 zinc plated |
$0.99
|
2 |
|
ships same day |
808 |
999-0018
|
Bolt 1/4-20 x 1/2 hex cap grade 5 zinc plated |
$0.99
|
2 |
|
ships same day |
809 |
999-0060
|
Washer 1/4 split lock plain finish |
$0.99
|
2 |
|
ships same day |
810 |
999-0335
|
Washer 1/4 x 5/8 SAE flat stainless steel |
$0.99
|
2 |
|
ships same day |
811 |
164-9856
|
Frame |
Call for price
|
1 |
|
usually ships 19-25 days |
812 |
164-9921
|
Decal |
Call for price
|
1 |
|
usually ships 19-25 days |
813 |
164-9922
|
Decal |
$8.42
|
1 |
|
usually ships 19-25 days |
814 |
164-9857
|
Elbow |
$5.34
|
1 |
|
usually ships 19-25 days |
815 |
991-1405
|
Vinyl tubing 1/2 x 3/4 (sold by the inch) |
$0.44
|
3 inch |
|
usually ships 12-16 days |
816 |
164-2584
|
Nylon fitting |
$7.38
|
1 |
|
usually ships 19-25 days |
817 |
164-9923
|
Ball valve |
$46.66
|
1 |
|
ships same day |
818 |
999-1103
|
Bolt 1/4-20 x 3/4 hex head with nylon patch |
$4.94
|
2 |
|
ships same day |
819 |
164-8061
|
90 degree elbow |
$24.43
|
1 |
|
usually ships 19-25 days |
820 |
999-0060
|
Washer 1/4 split lock plain finish |
$0.99
|
2 |
|
ships same day |
821 |
999-0335
|
Washer 1/4 x 5/8 SAE flat stainless steel |
$0.99
|
1 |
|
ships same day |
822 |
164-9126
|
Inline canister strainer |
$52.18
|
1 |
|
ships same day |
823 |
164-1330
|
Hose barb |
$4.49
|
1 |
|
ships same day |
824 |
991-1405
|
Vinyl tubing 1/2 x 3/4 (sold by the inch) |
$0.44
|
3 inch |
|
usually ships 12-16 days |
825 |
164-9903
|
Solution valve mount bracket |
Call for price
|
1 |
|
usually ships 19-25 days |