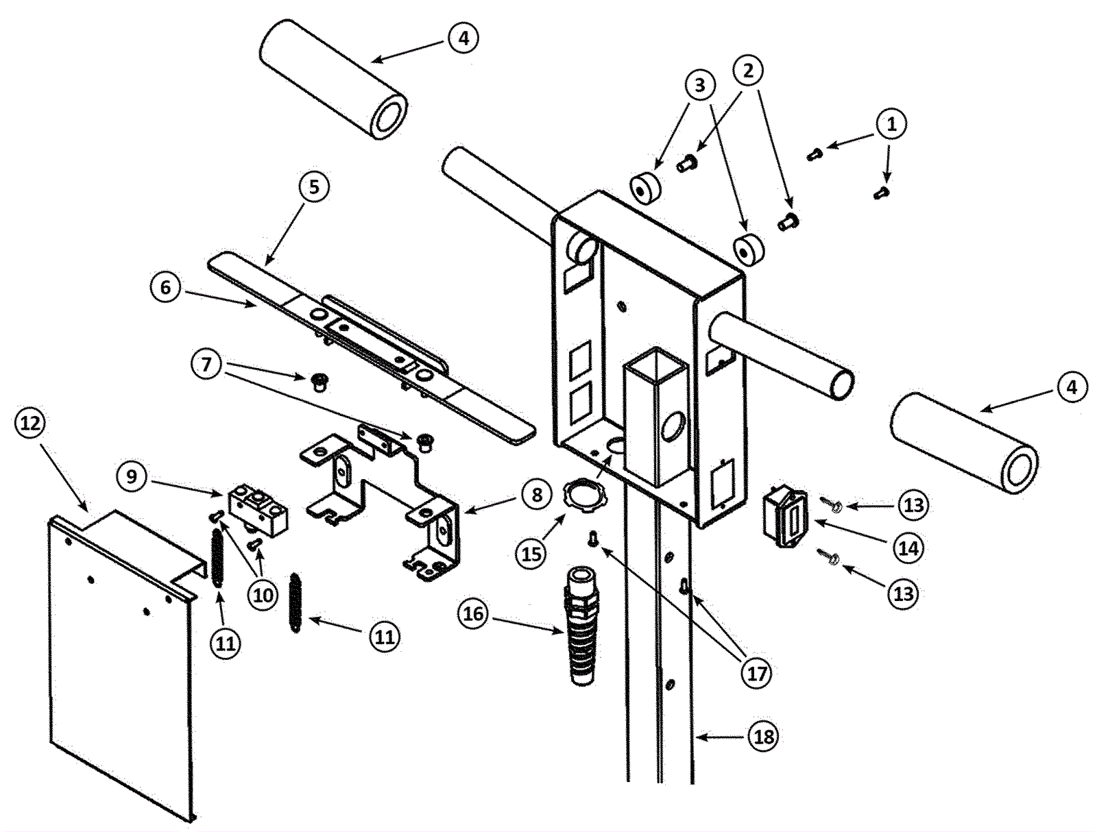
| # | Part | Description | Price | Req | Notes | Availability |
01 |
260-1027
|
Switch cover screw |
$1.32
|
2 |
|
ships same day |
02 |
260-1224
|
Switch box bracket screws |
$0.99
|
2 |
|
usually ships 12-14 days |
03 |
260-1335
|
Rubber bumper |
Call for price
|
2 |
|
usually ships 12-14 days |
04 |
260-1018
|
Handle grip |
$16.01
|
2 |
|
ships same day |
05 |
260-1207
|
Trigger end cap |
$3.14
|
1 |
|
usually ships 12-14 days |
06 |
260-1020
|
Switch bar |
$58.67
|
1 |
|
usually ships 12-14 days |
07 |
260-1328
|
Trigger guides (set of 2) |
$0.99
|
2 |
|
usually ships 12-14 days |
08 |
260-1222
|
Switch box bracket |
$37.77
|
1 |
|
usually ships 12-14 days |
09 |
260-1022
|
Microswitch |
$67.85
|
1 |
|
ships same day |
10 |
260-1226
|
Micro switch screw |
$37.82
|
2 |
|
usually ships 12-14 days |
11 |
260-1021
|
Switch spring |
$7.17
|
2 |
|
usually ships 12-14 days |
12 |
260-1221
|
Box cover |
$124.92
|
1 |
|
usually ships 12-14 days |
13 |
N/A
|
Not available |
Call for price
|
2 |
(Screws) |
usually ships 3-26 days |
14 |
260-1028
|
Hour meter kit |
$63.80
|
1 |
(includes 13) |
usually ships 12-14 days |
15 |
260-1336
|
Conduit nut |
Call for price
|
1 |
|
usually ships 12-14 days |
16 |
260-1023
|
Strain relief |
$8.75
|
1 |
|
usually ships 12-14 days |
17 |
260-1027
|
Switch cover screw |
$1.32
|
2 |
|
ships same day |
18 |
260-1220
|
Handle |
$475.20
|
1 |
|
usually ships 12-14 days |