| # | Part | Description | Price | Req | Notes | Availability |
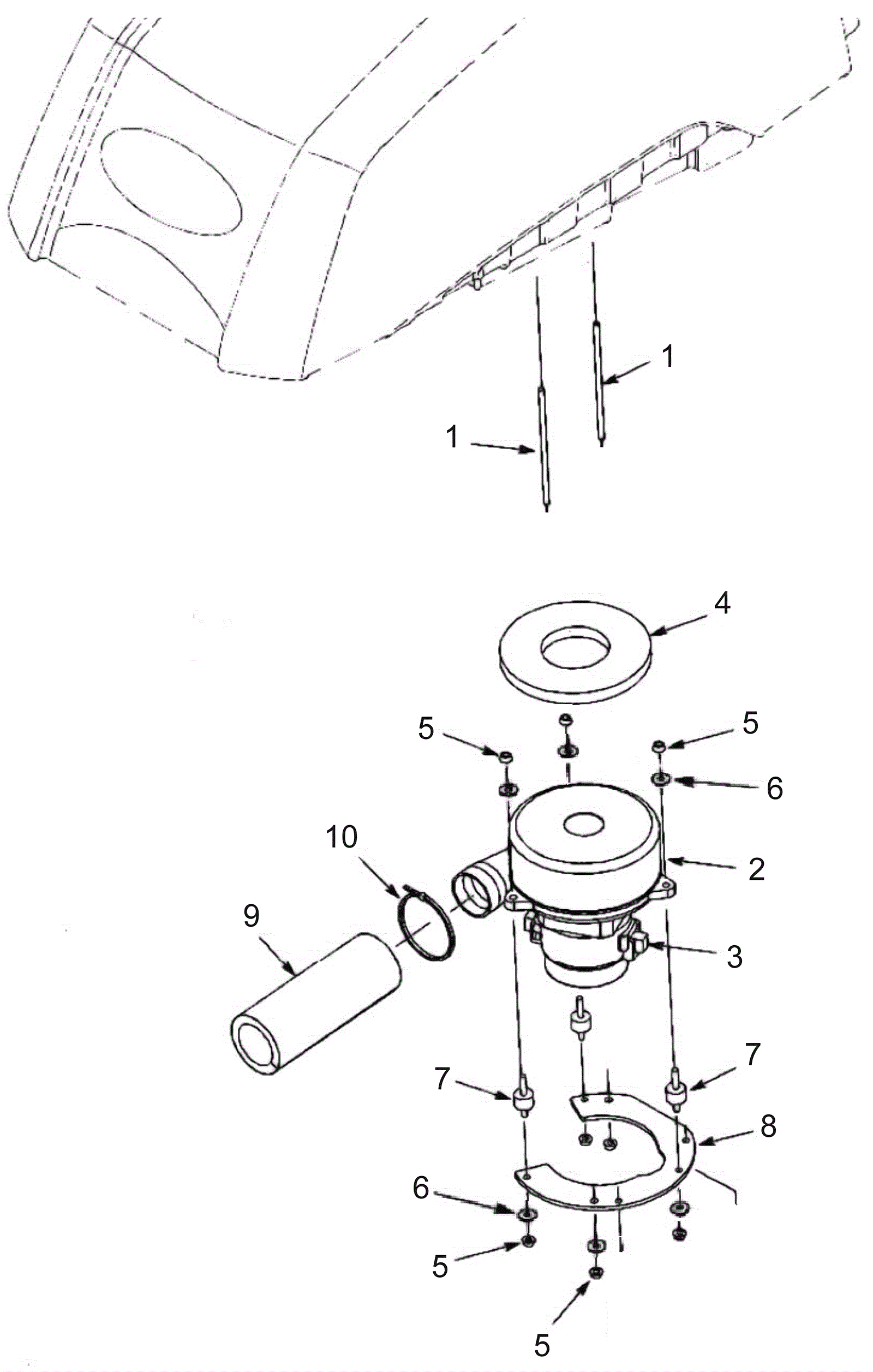
1 |
252-9057
|
Mounting rod |
$9.19
|
2 |
|
usually ships 10-12 days |
3 |
252-9028
|
24V vacuum motor |
$546.66
|
1 |
|
usually ships 10-12 days |
4 |
252-9029
|
Carbon brush kit |
$74.99
|
1 |
|
usually ships 10-12 days |
5 |
252-9058
|
Rubber pad |
$27.01
|
1 |
|
usually ships 10-12 days |
6 |
999-1308
|
Nut M6-1 hex stainless steel |
$0.99
|
6 |
|
ships same day |
8 |
N/A
|
Not available |
Call for price
|
6 |
(flat washer 6mm x 18mm x 1mm) |
usually ships 3-26 days |
9 |
252-9059
|
Vibration isolator |
$9.19
|
3 |
|
usually ships 10-12 days |
10 |
252-9060
|
Motor mounting plate |
$43.73
|
1 |
|
usually ships 10-12 days |
11 |
252-9061
|
Noise muffler |
$9.19
|
1 |
|
usually ships 10-12 days |
12 |
252-9062
|
Hose clamp |
$9.19
|
1 |
|
usually ships 10-12 days |