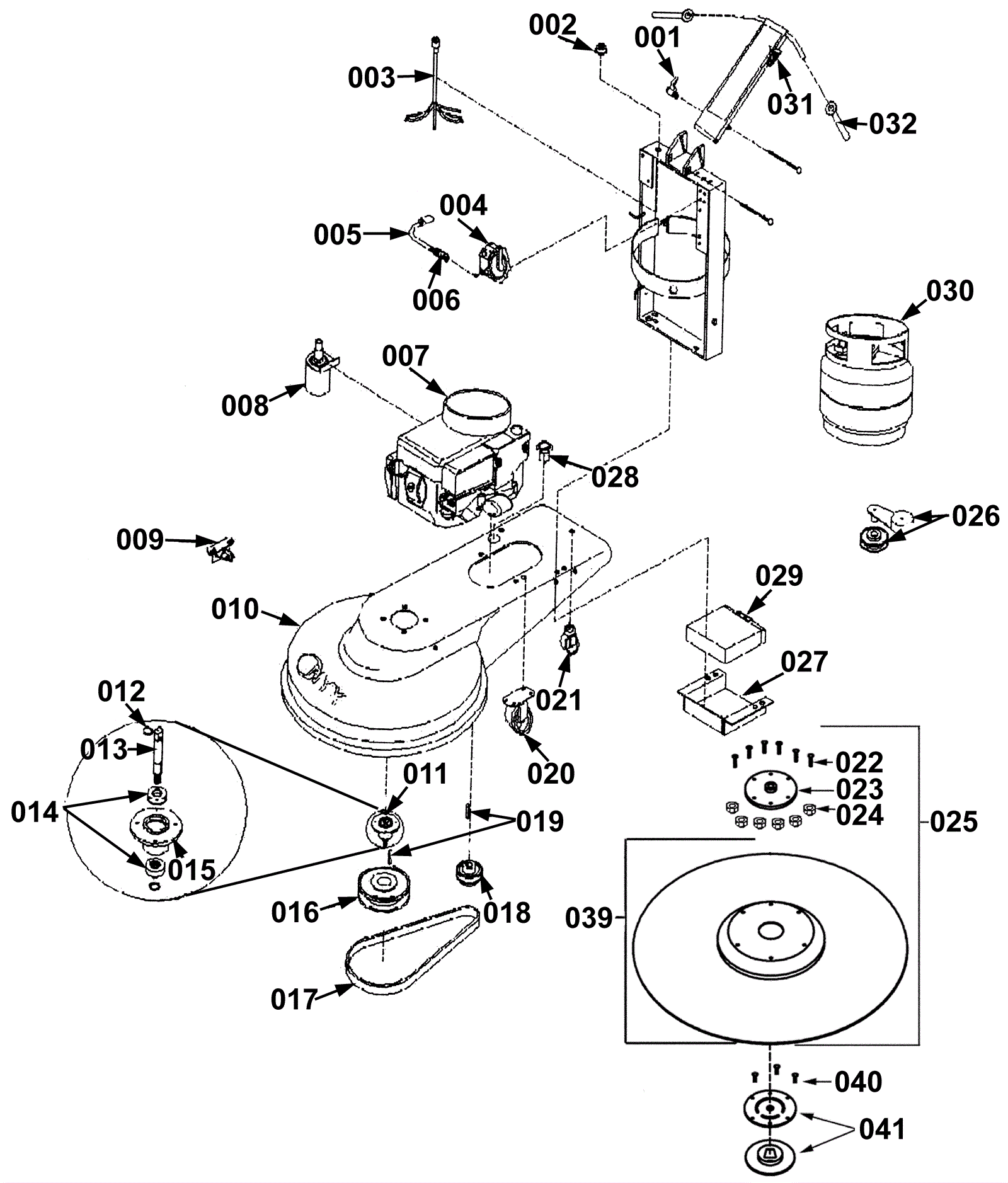
| # | Part | Description | Price | Req | Notes | Availability |
001 |
252-1366
|
Handle adjustment |
$15.90
|
1 |
|
usually ships 10-12 days |
002a |
169-0016
|
Key switch assembly with two keys |
$97.93
|
1 |
12V models |
ships same day |
002b |
252-1449
|
Kill switch |
$9.99
|
1 |
110V models |
usually ships 1-5 days |
003 |
252-1953
|
Ignition switch wiring harness (Onyx) |
$254.57
|
1 |
|
usually ships 10-12 days |
004 |
991-6001
|
Fuel regulator (T60) |
$419.02
|
1 |
|
ships same day |
005a |
991-6007
|
Propane fuel hose |
$57.71
|
1 |
12V models |
usually ships 11-14 days |
005b |
252-1420
|
14 Inch hose assembly with regulator |
$109.18
|
1 |
110V models |
usually ships 1-5 days |
006 |
991-6002
|
12V fuel lock off (Model 152) |
$44.45
|
1 |
|
ships same day |
007a |
252-1441
|
13 Hp Kawasaki twin engine |
Call for price
|
1 |
12V models |
usually ships 1-5 days |
007b |
252-1442
|
17 Hp Kawasaki twin engine |
Call for price
|
1 |
12V models |
usually ships 1-5 days |
007c |
N/A
|
Not available |
Call for price
|
1 |
17HP Kawasaki (Can replace with 252-1465) |
usually ships 3-26 days |
007d |
252-1451
|
13 Hp Kawasaki twin engine |
Call for price
|
1 |
110V models |
usually ships 1-5 days |
008 |
178-0025
|
12V starter assembly kit (Kawasaki FH500V & FH541V engines) |
$307.59
|
1 |
|
ships same day |
009a |
252-1444
|
17 Hp Kawasaki manifold |
Call for price
|
1 |
|
usually ships 1-5 days |
010a |
252-1376
|
21 inch deck |
$901.34
|
1 |
|
usually ships 1-5 days |
010b |
252-1377
|
24 inch deck assembly |
$389.40
|
1 |
|
usually ships 1-5 days |
011 |
252-1341
|
Front end assembly (long) |
$254.32
|
1 |
|
usually ships 10-12 days |
012 |
252-1379
|
Snap ring |
$5.59
|
1 |
|
usually ships 10-12 days |
013 |
252-9005
|
6.625 shaft |
$79.46
|
1 |
|
usually ships 10-12 days |
014 |
252-1380
|
Bearing |
$15.10
|
2 |
|
usually ships 10-12 days |
015 |
252-1381
|
Aluminum housing |
$119.16
|
1 |
|
usually ships 10-12 days |
016a |
160-0025
|
Pulley 6.2 x 1 |
$75.20
|
1 |
110V models |
usually ships 10-12 days |
016b |
252-1417
|
7.5 Inch pulley for 24 inch buffer |
$71.31
|
1 |
12V models |
usually ships 1-5 days |
016c |
160-0135
|
Pulley 8.8 x 1 |
$94.94
|
1 |
|
usually ships 10-12 days |
017a |
991-0002
|
BX43 belt |
$26.76
|
1 |
12V models |
usually ships 3-5 days |
017b |
991-0009
|
BX51 belt |
$58.80
|
1 |
110V models |
usually ships 12-15 days |
018 |
160-0036
|
Pulley 3.5 x 1 |
$37.71
|
1 |
|
usually ships 10-11 days |
019 |
252-9024
|
Square keyway 1 1/4 x 1/4 |
$4.71
|
1 |
|
usually ships 10-12 days |
020a |
252-1386
|
Deluxe wheel bracket (5 holes) |
$56.42
|
1 |
12V models |
ships same day |
020b |
991-2014
|
6 inch drive wheel (includes bearings) |
$62.91
|
1 |
110V models |
ships same day |
020c |
164-3118
|
Delrin bearing for 164-0960 (OBSOLETE) |
$2.90
|
|
|
usually ships 19-25 days |
020d |
252-9009
|
Axle kit |
$9.37
|
1 |
12V models |
usually ships 10-12 days |
021 |
252-1387
|
Rear castor |
$51.76
|
1 |
110V models |
usually ships 10-12 days |
022 |
999-0031
|
Bolt 5/16-18 x 1 hex head grade 5 zinc plated |
$0.99
|
6 |
|
ships same day |
024 |
999-0069
|
Nut 5/16-18 hex |
$0.99
|
6 |
|
ships same day |
025 |
996-5056
|
27 inch complete pad driver assembly (OBSOLETE) |
$168.71
|
1 |
|
usually ships 3-26 days |
026a |
160-0030
|
Idler pulley with belt tensioner |
$168.81
|
1 |
|
ships same day |
026c |
252-2061
|
Rotary tensioner pulley |
$68.79
|
1 |
|
usually ships 10-12 days |
027 |
252-1396
|
Battery tray |
$65.12
|
1 |
|
usually ships 1-5 days |
028a |
154-0019
|
Hour meter |
$122.82
|
1 |
(OEM) |
usually ships 12-15 days |
028b |
991-8559
|
Hour meter |
$41.11
|
1 |
(NON-OEM) |
ships same day |
029 |
162-0007
|
12V 12Ah sealed battery |
$124.80
|
1 |
|
ships same day |
030 |
154-1065
|
Steel propane tank |
$285.58
|
1 |
|
usually ships 1-5 days |
031 |
160-0006
|
48 inch throttle control cable |
$72.81
|
1 |
|
ships same day |
032 |
252-1401
|
Handle grip |
$4.31
|
1 |
|
usually ships 1-5 days |
039 |
996-5059
|
27 inch flex and riser assembly |
$163.44
|
1 |
|
usually ships 11-13 days |
040 |
999-1296
|
Screw 12 x 5/8 pan head phillips |
$0.99
|
3 |
|
ships same day |
041 |
991-2201
|
Center-Lok II pad holder - right hand thread (black) |
$39.08
|
1 |
|
ships same day |