| # | Part | Description | Price | Req | Notes | Availability |
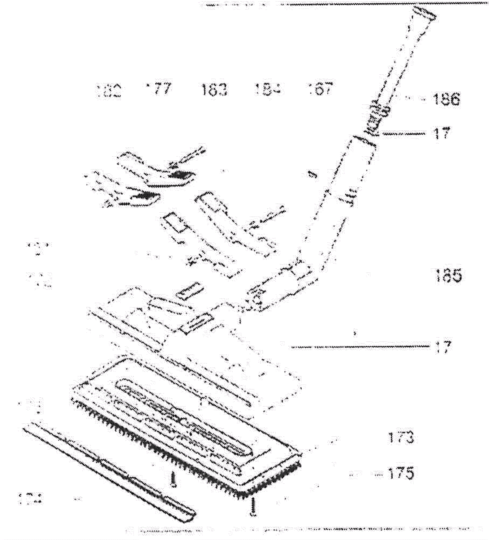
172 |
248-0122
|
Big brush cover (OBSOLETE) |
$11.88
|
1 |
|
usually ships 1-5 days |
173 |
248-0123
|
Bottom with bristles (OBSOLETE) |
$35.64
|
1 |
|
usually ships 1-5 days |
174 |
248-0124
|
Window wiper profile (OBSOLETE) |
$2.64
|
1 |
|
usually ships 1-5 days |
175 |
248-0125
|
Screw M4 x 30mm (OBSOLETE) |
$0.99
|
2 |
|
usually ships 1-5 days |
176 |
248-0126
|
Screw M4 x 20mm (OBSOLETE) |
$0.99
|
2 |
|
usually ships 1-5 days |
177 |
248-0127
|
Pin (OBSOLETE) |
$1.32
|
2 |
|
usually ships 1-5 days |
178 |
248-0128
|
Tongue (OBSOLETE) |
$0.99
|
1 |
|
usually ships 1-5 days |
179 |
248-0129
|
Brush block (OBSOLETE) |
$1.32
|
1 |
|
usually ships 1-5 days |
181 |
248-0130
|
Left side spring (OBSOLETE) |
$0.99
|
1 |
|
usually ships 1-5 days |
182 |
248-0131
|
Right side lever (OBSOLETE) |
$1.32
|
1 |
|
usually ships 1-5 days |
183 |
248-0132
|
Left side lever (OBSOLETE) |
$1.32
|
1 |
|
usually ships 1-5 days |
184 |
248-0133
|
Right side spring (OBSOLETE) |
$0.99
|
1 |
|
usually ships 1-5 days |
185 |
248-0134
|
Big brush elbow (OBSOLETE) |
$17.16
|
1 |
|
usually ships 1-5 days |
186 |
248-0135
|
Steam coupling (OBSOLETE) |
$13.20
|
1 |
|
usually ships 1-5 days |
187 |
248-0136
|
O-ring (OBSOLETE) |
$1.32
|
1 |
|
usually ships 1-5 days |
17 |
248-0016
|
O-ring (OBSOLETE) |
$1.65
|
1 |
|
usually ships 1-5 days |
167 |
248-0121
|
Key (OBSOLETE) |
$0.99
|
1 |
|
usually ships 1-5 days |