| # | Part | Description | Price | Req | Notes | Availability |
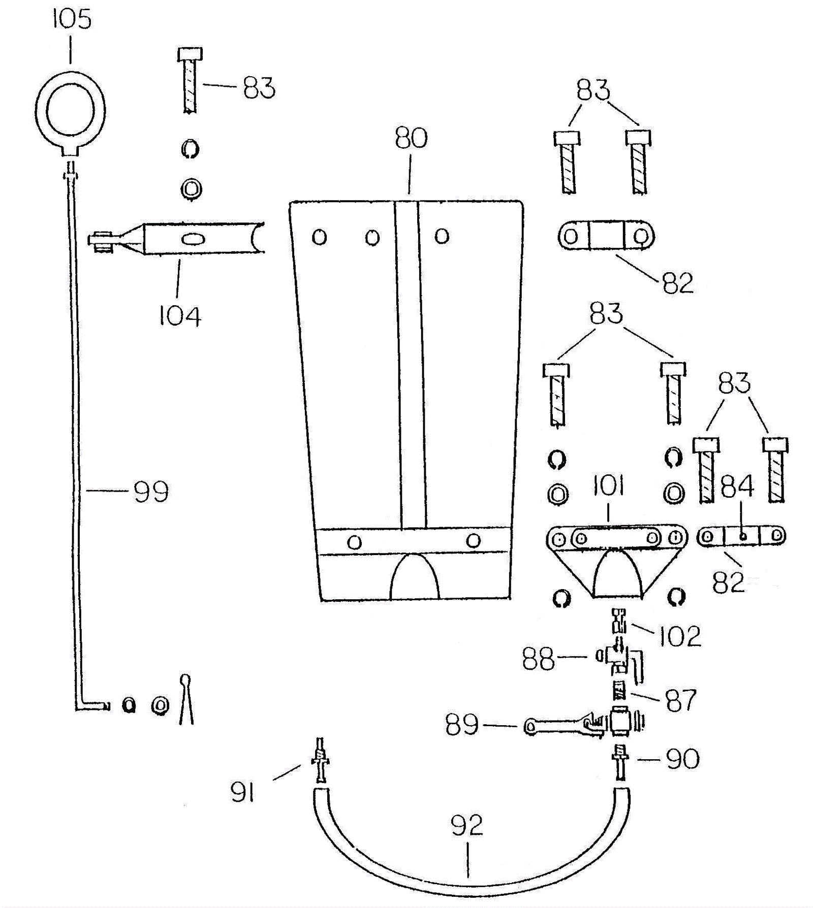
80 |
241-0070
|
Polyethylene tank with inserts |
$192.50
|
1 |
|
usually ships 1-5 days |
82 |
241-0071
|
Clamp cap (OBSOLETE) |
Call for price
|
1 |
|
usually ships 1-5 days |
83 |
241-0072
|
Screw (OBSOLETE) |
$0.99
|
7 |
|
usually ships 1-5 days |
84 |
241-0049
|
Screw (OBSOLETE) |
Call for price
|
1 |
|
usually ships 1-5 days |
87 |
241-0078
|
Nipple (OBSOLETE) |
Call for price
|
1 |
|
usually ships 1-5 days |
88 |
241-5029
|
Shut off valve (OBSOLETE) |
$36.30
|
1 |
|
usually ships 7-10 days |
89 |
241-0079
|
Spring valve |
$104.50
|
1 |
|
usually ships 13-14 days |
90 |
241-0080
|
Upper hose nipple (OBSOLETE) |
Call for price
|
1 |
|
usually ships 1-5 days |
91 |
241-0081
|
Lower hose nipple (OBSOLETE) |
Call for price
|
1 |
|
usually ships 1-5 days |
92 |
241-0081
|
Lower hose nipple (OBSOLETE) |
Call for price
|
1 |
|
usually ships 1-5 days |
99 |
241-5010
|
Solution control rod (OBSOLETE) |
$42.24
|
1 |
|
usually ships 1-5 days |
101 |
241-0074
|
Bracket (OBSOLETE) |
Call for price
|
1 |
|
usually ships 1-5 days |
102 |
241-0075
|
Solution outlet fitting with nut (OBSOLETE) |
Call for price
|
1 |
|
usually ships 1-5 days |
104 |
241-5011
|
Solution control rod bracket (OBSOLETE) |
$36.30
|
1 |
|
usually ships 7-10 days |
105 |
241-0083
|
Pull ring (OBSOLETE) |
$19.80
|
1 |
|
usually ships 1-5 days |
N/S |
241-0084
|
Internal solution filter (OBSOLETE) |
Call for price
|
1 |
|
usually ships 1-5 days |
N/S |
241-0076
|
Washer (OBSOLETE) |
Call for price
|
1 |
|
usually ships 1-5 days |
N/S |
241-0077
|
O-ring (OBSOLETE) |
Call for price
|
1 |
|
usually ships 1-5 days |