| # | Part | Description | Price | Req | Notes | Availability |
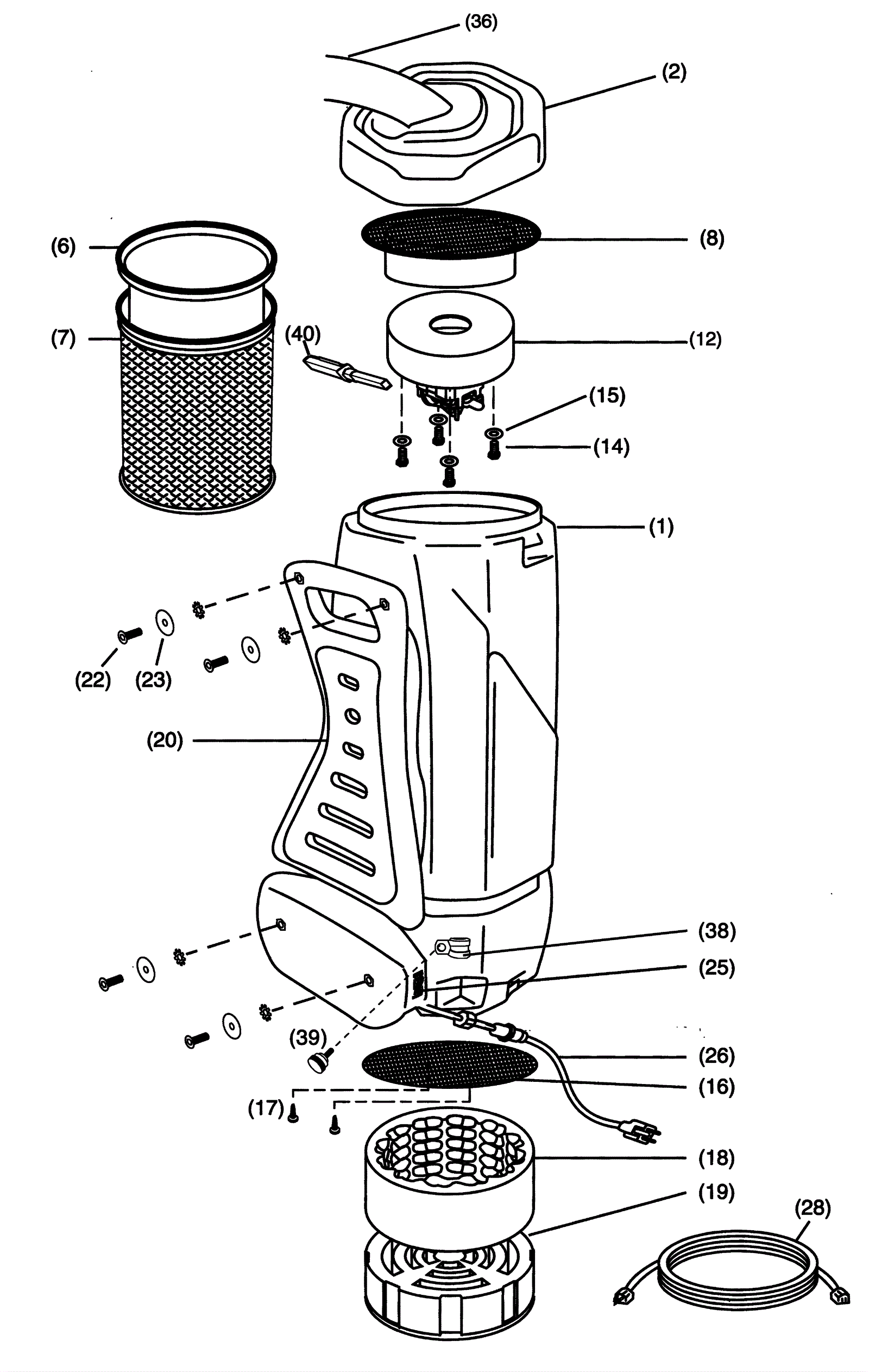
1 |
239-0746
|
6 quart body(OBSOLETE) |
Call for price
|
|
|
usually ships 15-18 days |
2 |
239-0747
|
6 quart lid |
$65.10
|
|
|
usually ships 10-16 days |
6 |
239-0748
|
6 quart paper bag |
$31.43
|
|
(10 pack) |
usually ships 10-16 days |
7 |
239-0749
|
6 quart cloth bag |
$41.91
|
|
|
usually ships 10-16 days |
8 |
239-0750
|
6 quart dome filter (OBSOLETE) |
$27.14
|
|
|
usually ships 10-16 days |
12 |
228-4004
|
120V vacuum motor |
$231.00
|
|
|
usually ships 15-18 days |
14 |
228-4020
|
Motor screw |
$6.60
|
|
|
usually ships 1-5 days |
15 |
239-0753
|
Washers |
$6.60
|
|
|
usually ships 15-18 days |
16 |
228-8011
|
Exhaust filter |
Call for price
|
|
|
usually ships 1-5 days |
17 |
228-4022
|
Deflector screw |
$6.60
|
|
|
usually ships 1-5 days |
18 |
239-0756
|
Sound filter band |
$24.95
|
|
|
usually ships 10-16 days |
19 |
228-7020
|
Noise filter |
$27.51
|
|
|
ships same day |
20 |
239-0758
|
Cushioned back pad |
$10.82
|
|
|
usually ships 10-16 days |
22 |
239-0760
|
Screw |
$0.99
|
|
|
usually ships 10-16 days |
23 |
239-0761
|
Washer |
$0.99
|
|
|
usually ships 10-16 days |
25 |
228-4002
|
Switch |
$16.50
|
|
|
usually ships 15-18 days |
28 |
239-0764
|
50 foot power cord (OBSOLETE) |
$53.30
|
|
|
usually ships 10-16 days |
36 |
239-0770
|
Stretch hose with cuffs(OBSOLETE) |
Call for price
|
|
|
usually ships 10-16 days |
38 |
228-4025
|
Cord lock well nut |
$11.00
|
|
|
usually ships 1-5 days |
39 |
228-4024
|
Well nut screw |
$6.60
|
|
|
usually ships 1-5 days |
40 |
228-4043
|
Carbon brush (pkg of 2) |
$46.20
|
|
|
usually ships 15-18 days |
N/S |
239-0759
|
Waist belt |
$78.94
|
|
|
usually ships 10-16 days |
N/S |
239-0768
|
Copper ring |
$28.60
|
|
|
usually ships 15-18 days |
N/S |
239-0769
|
Collar, nut, and copper ring set |
$30.80
|
|
|
usually ships 15-18 days |