| # | Part | Description | Price | Req | Notes | Availability |
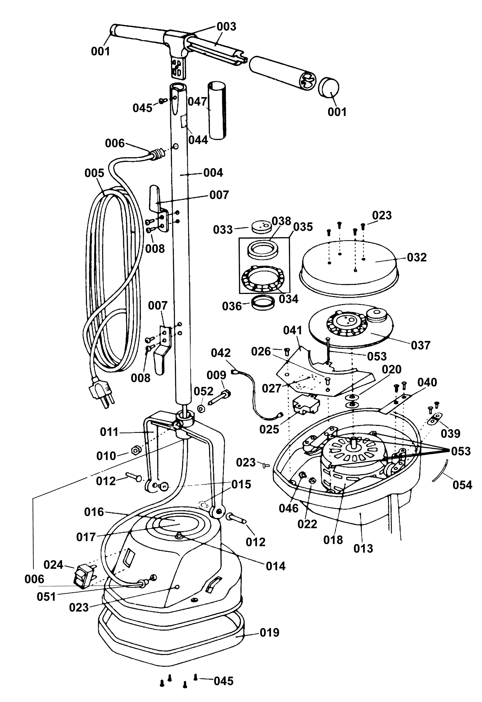
001 |
239-0049
|
T-handle end caps |
Call for price
|
|
|
usually ships 1-5 days |
003 |
239-0051
|
T-handle |
Call for price
|
|
|
usually ships 1-5 days |
004a |
239-0052
|
Handle tube |
Call for price
|
|
|
usually ships 1-5 days |
004b |
239-0053
|
Handle tube |
Call for price
|
|
|
usually ships 1-5 days |
005a |
239-0065
|
Cord set |
Call for price
|
|
|
usually ships 1-5 days |
005b |
239-0066
|
Cord set |
Call for price
|
|
|
usually ships 1-5 days |
005c |
239-0067
|
Cord set |
Call for price
|
|
|
usually ships 1-5 days |
005d |
239-0068
|
Cord set |
Call for price
|
|
|
usually ships 1-5 days |
005e |
239-0069
|
Screw 10 x 1/2 pan standard machine slotted handle |
Call for price
|
|
|
usually ships 1-5 days |
006a |
239-0076
|
Heyco strain relief |
Call for price
|
|
|
usually ships 1-5 days |
006b |
239-0077
|
Heyco strain relief |
Call for price
|
|
|
usually ships 1-5 days |
006c |
239-0078
|
Heyco strain relief |
Call for price
|
|
|
usually ships 1-5 days |
007 |
239-0079
|
Cord hooks |
$16.29
|
|
|
usually ships 1-5 days |
008 |
239-0069
|
Screw 10 x 1/2 pan standard machine slotted handle |
Call for price
|
|
|
usually ships 1-5 days |
009 |
239-0070
|
Handle bolt 1/4 x 20 x 1-7/8 |
Call for price
|
|
|
usually ships 1-5 days |
010 |
999-0152
|
Nut 1/4-20 nylon insert lock zinc plated |
$0.99
|
|
|
ships same day |
011 |
239-0080
|
Yoke |
Call for price
|
|
|
usually ships 1-5 days |
012 |
239-0081
|
Handle pin (OBSOLETE) |
$7.34
|
|
|
usually ships 1-5 days |
013 |
239-0082
|
Main body housing |
Call for price
|
|
|
usually ships 1-5 days |
014 |
239-0083
|
Reset button |
$2.24
|
|
|
usually ships 10-16 days |
015 |
239-0084
|
Delrin bushing (OBSOLETE) |
Call for price
|
|
|
usually ships 1-5 days |
016 |
239-0085
|
Motor cover grill |
Call for price
|
|
|
usually ships 1-5 days |
017 |
239-0086
|
Round label |
Call for price
|
|
|
usually ships 1-5 days |
018a |
239-0087
|
Motor kit |
Call for price
|
|
|
usually ships 1-5 days |
018b |
239-0088
|
Motor kit |
Call for price
|
|
|
usually ships 1-5 days |
019 |
239-0089
|
Bumper |
Call for price
|
|
|
usually ships 1-5 days |
020 |
999-0120
|
Washer 3/8 SAE flat |
$0.99
|
|
|
ships same day |
022 |
239-0071
|
Nut M8 |
Call for price
|
|
|
usually ships 1-5 days |
023 |
999-0462
|
Screw 8-32 x 1/2 pan head slotted zinc plated |
$0.99
|
|
|
ships same day |
024 |
239-0090
|
Rocker switch |
$27.50
|
|
|
usually ships 10-16 days |
025a |
239-0091
|
Relay (OBSOLETE) |
$75.61
|
|
|
usually ships 10-16 days |
025b |
239-0092
|
Relay |
Call for price
|
|
|
usually ships 1-5 days |
025c |
239-0093
|
Relay |
Call for price
|
|
|
usually ships 1-5 days |
026 |
999-0064
|
Screw 10-24 x 7/16 round head slotted zinc plated |
$0.99
|
|
|
ships same day |
027 |
239-0072
|
Plastic nylon rivet |
Call for price
|
|
|
usually ships 1-5 days |
032 |
239-0094
|
Brush holder pan (OBSOLETE) |
$43.04
|
|
|
usually ships 10-16 days |
033 |
239-0065
|
Cord set |
Call for price
|
|
|
usually ships 1-5 days |
034 |
239-0096
|
Bearing retainer |
Call for price
|
|
|
usually ships 1-5 days |
035 |
239-0097
|
Retainer bearing and ball bearing assembly (OBSOLETE) |
Call for price
|
|
|
usually ships 1-5 days |
036 |
239-0098
|
Spacer bearing |
Call for price
|
|
|
usually ships 1-5 days |
037 |
239-0099
|
Flywheel |
Call for price
|
|
|
usually ships 1-5 days |
038 |
239-0073
|
Screw 3/4 x 20 x 3/4 flat head cap allen socket |
Call for price
|
|
|
usually ships 1-5 days |
038 |
239-0100
|
Bearing (OBSOLETE) |
$20.93
|
|
|
usually ships 10-16 days |
039 |
239-0101
|
Pillow block |
Call for price
|
|
|
usually ships 1-5 days |
040 |
239-0102
|
Spring |
Call for price
|
|
|
usually ships 1-5 days |
041 |
239-0103
|
Plate cover |
Call for price
|
|
|
usually ships 1-5 days |
042 |
239-0104
|
Lead wire with terminals 5 inch |
Call for price
|
|
|
usually ships 1-5 days |
044 |
239-0105
|
Warning label |
Call for price
|
|
|
usually ships 1-5 days |
045 |
999-0100
|
Screw 6-32 x 5/16 round head slotted zinc plated |
$0.99
|
|
|
ships same day |
046 |
239-0074
|
Nut w/external tooth washer |
Call for price
|
|
|
usually ships 1-5 days |
047 |
239-0106
|
Insulator tube |
Call for price
|
|
|
usually ships 1-5 days |
051 |
239-0109
|
Strain relief |
Call for price
|
|
|
usually ships 1-5 days |
052 |
999-0123
|
Washer 1/4 SAE flat zinc plated |
$0.99
|
|
|
ships same day |
053 |
239-0075
|
Motor bolt 10 x 24 hex head with washer (OBSOLETE) |
$1.85
|
|
|
usually ships 10-16 days |
054 |
239-0110
|
Cable tie |
Call for price
|
|
|
usually ships 1-5 days |
N/S |
239-0107
|
Connector butt, bra 2280 |
Call for price
|
|
|
usually ships 1-5 days |
N/S |
239-0108
|
Quick slide |
Call for price
|
|
|
usually ships 1-5 days |
N/S |
239-0111
|
Oreck label |
Call for price
|
|
|
usually ships 1-5 days |