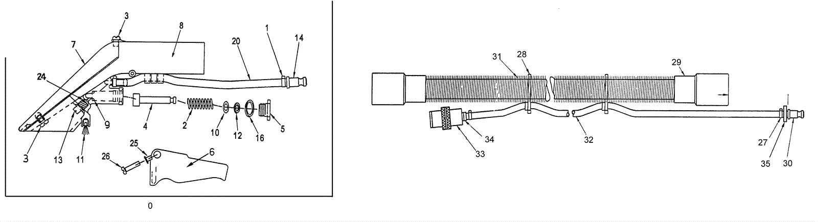
Mighty Pro Quick Dry
Hand Tool and Hose Assembly
Click to enlarge
#
Part
Description
Price
Req
Notes
Availability
0a
238-5004
Hand tool (OBSOLETE)
$25.14
(includes 1-26)
usually ships 7-9 days
4
238-5033
Plunger (OBSOLETE)
$2.62
usually ships 7-9 days
6
238-5030
Plastic trigger
$1.72
usually ships 7-9 days
25
238-5031
Binding post
$0.99
usually ships 1-5 days
26
238-5032
Screw
$0.99
usually ships 1-5 days
33
238-5048
Quick coupler
$21.45
ships same day